- Partiron
- OEM Parts
- Suzuki
- All Terrain Vehicle
- 2015
- LT-A500XPL5 (2015)
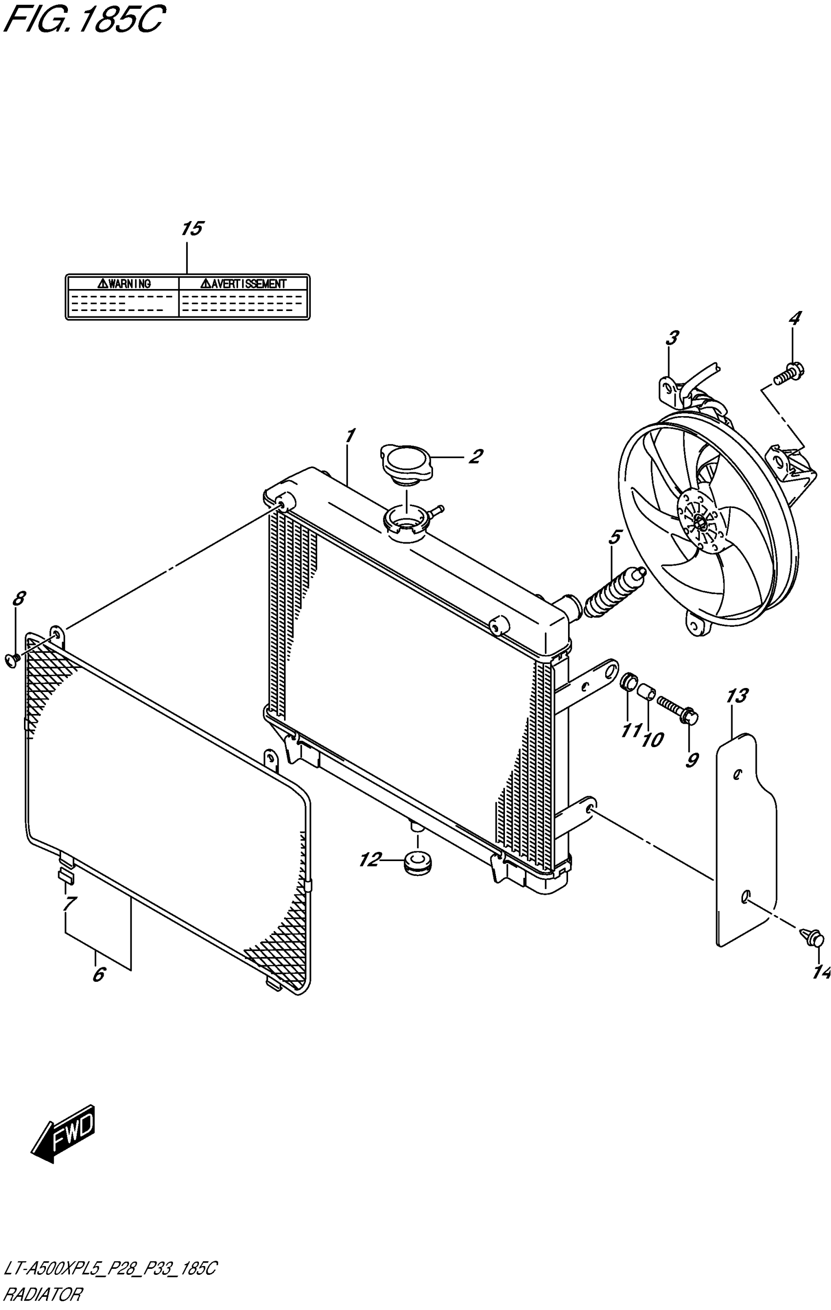
RADIATOR (LT-A500XPZL5 P28)
Suzuki LT-A500XPL5 (2015) RADIATOR (LT-A500XPZL5 P28) Diagram
#
Description
Price
RADIATOR (LT-A500XPZL5 P28)
#
Edit ride
