- Partiron
- OEM Parts
- Suzuki
- All Terrain Vehicle
- 2023
- LT-A500XM3 (2023)
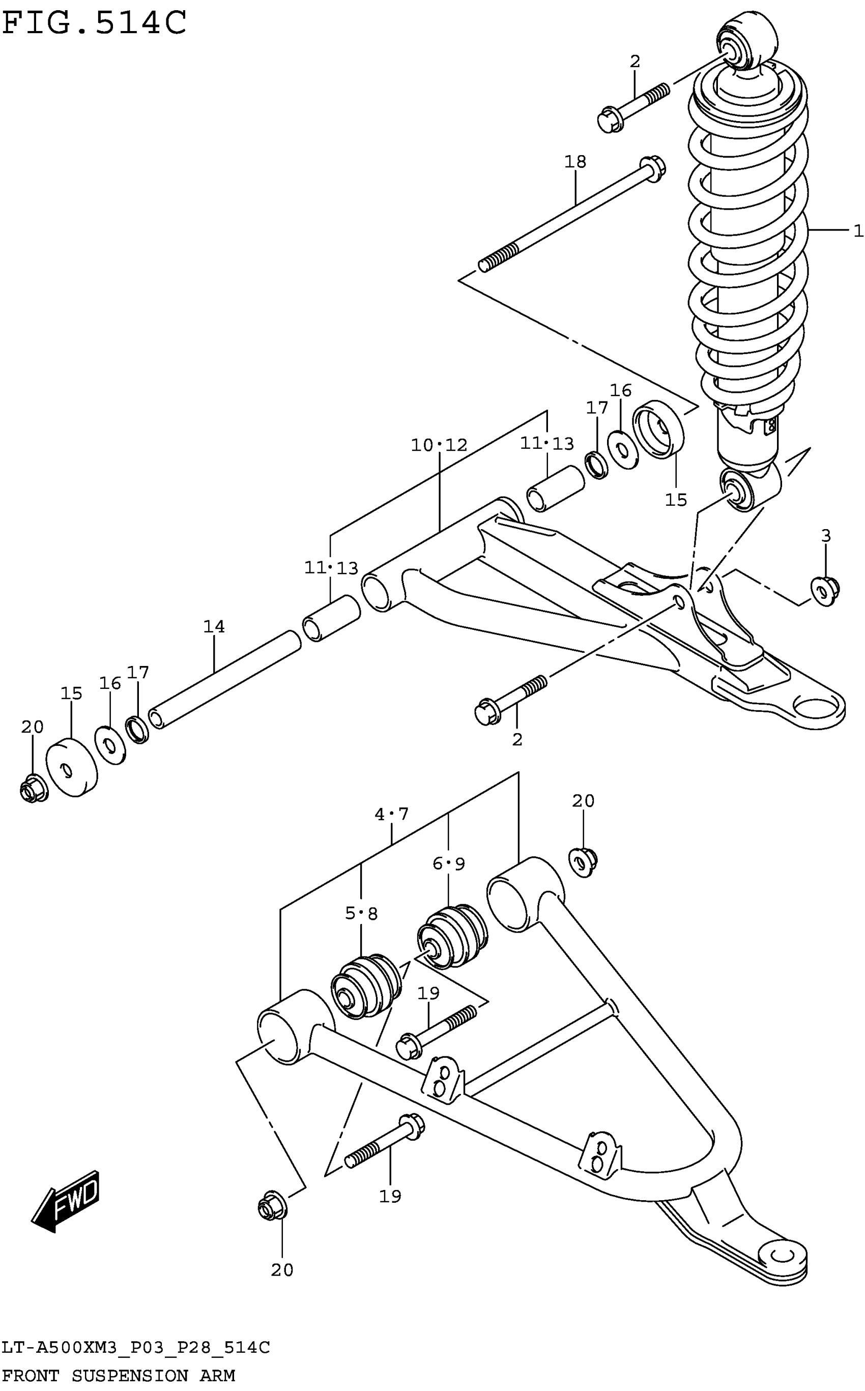
FRONT SUSPENSION ARM (LT-A500XPM3 P33)
Suzuki LT-A500XM3 (2023) FRONT SUSPENSION ARM (LT-A500XPM3 P33) Diagram
#
Description
Price
FRONT SUSPENSION ARM (LT-A500XPM3 P33)
#
Edit ride
