- Partiron
- OEM Parts
- Suzuki
- All Terrain Vehicle
- 2025
- LT-A500XM2 (2025)
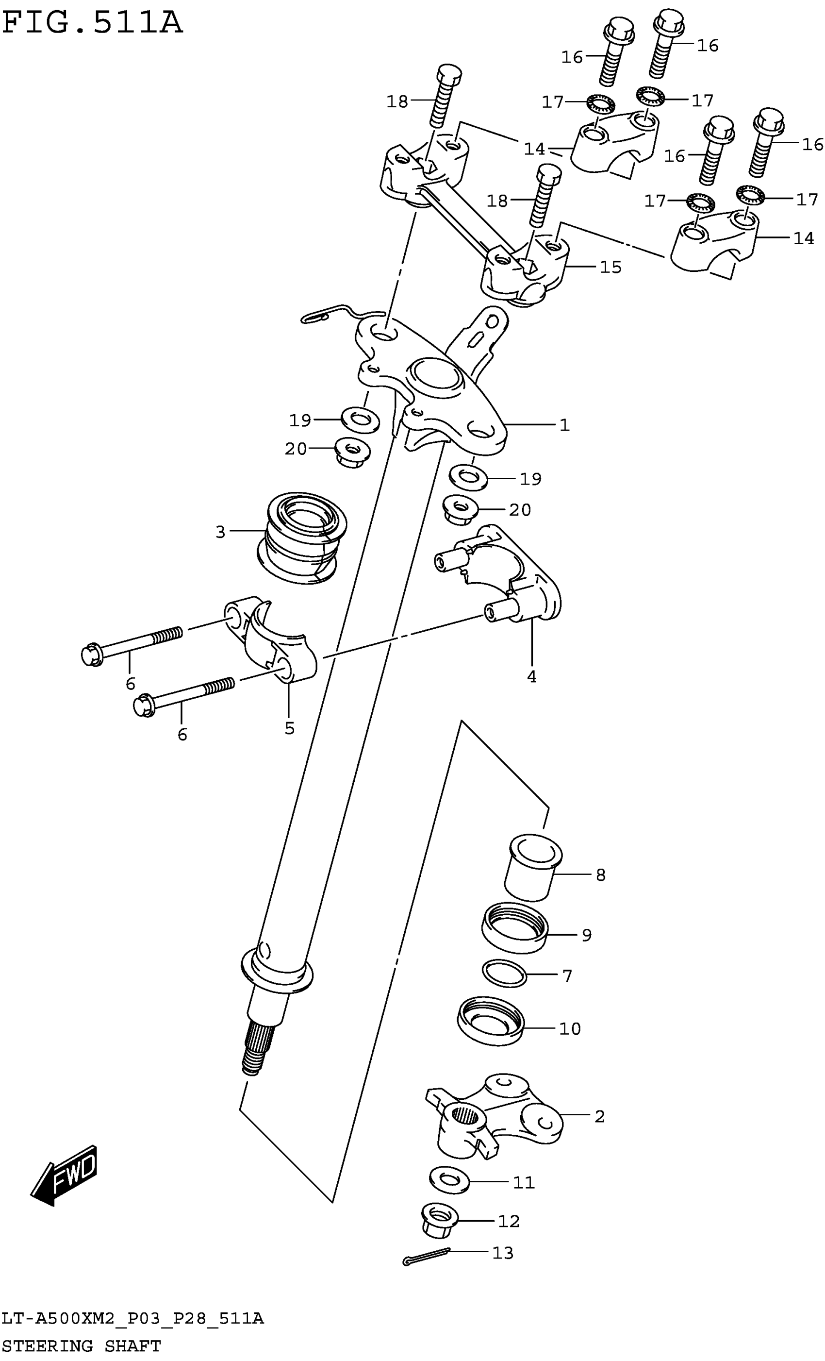
STEERING SHAFT (LT-A500XM2 P03)
Suzuki LT-A500XM2 (2025) STEERING SHAFT (LT-A500XM2 P03) Diagram
#
Description
Price
7
O RING
09280-24014
Unavailable
