- Partiron
- OEM Parts
- Suzuki
- All Terrain Vehicle
- 2025
- LT-A500XM2 (2025)
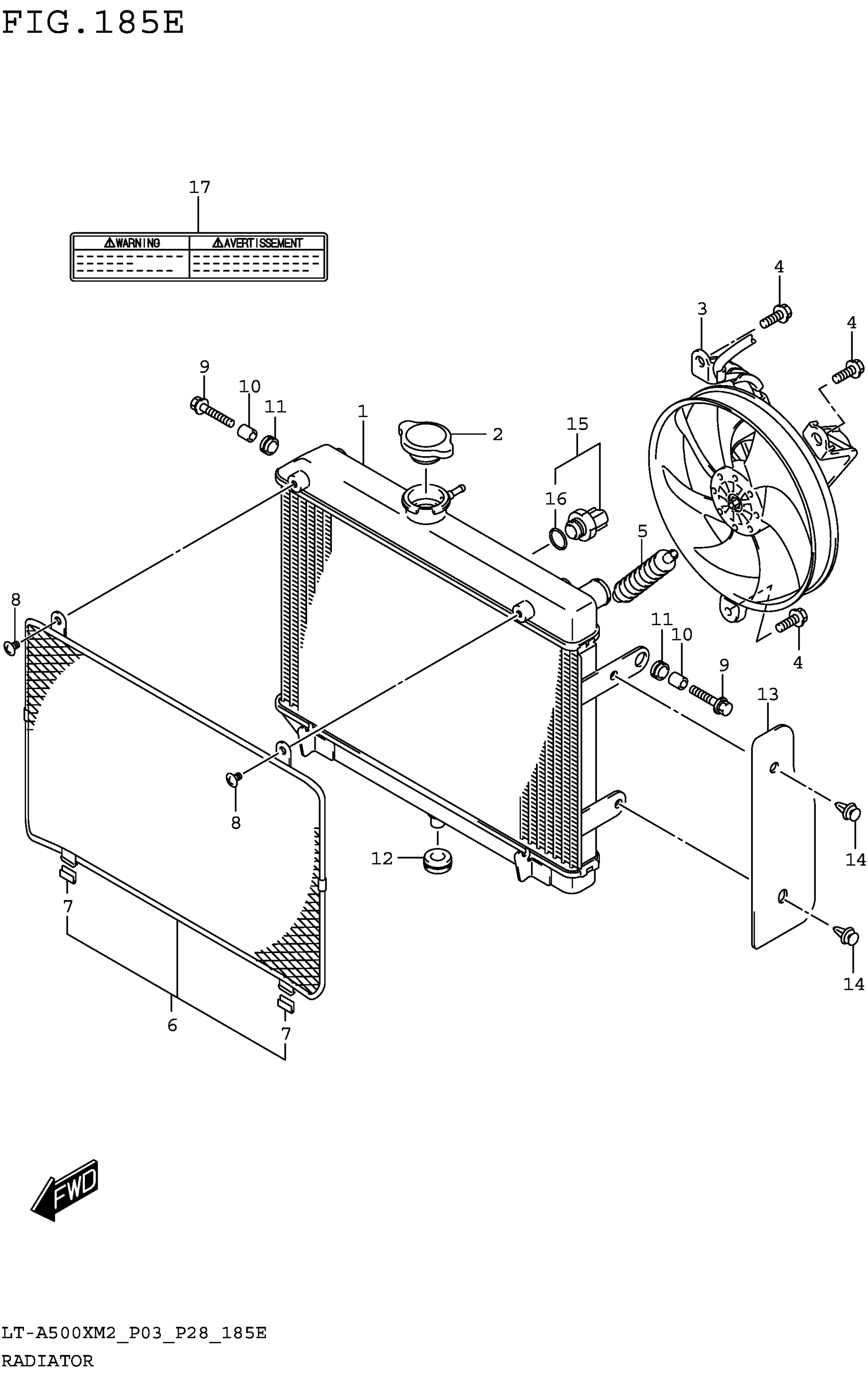
RADIATOR (LT-A500XPM2 P28)
Suzuki LT-A500XM2 (2025) RADIATOR (LT-A500XPM2 P28) Diagram
#
Description
Price
RADIATOR (LT-A500XPM2 P28)
#
Edit ride
