- Partiron
- OEM Parts
- Suzuki
- All Terrain Vehicle
- 2025
- LT-A500XM2 (2025)
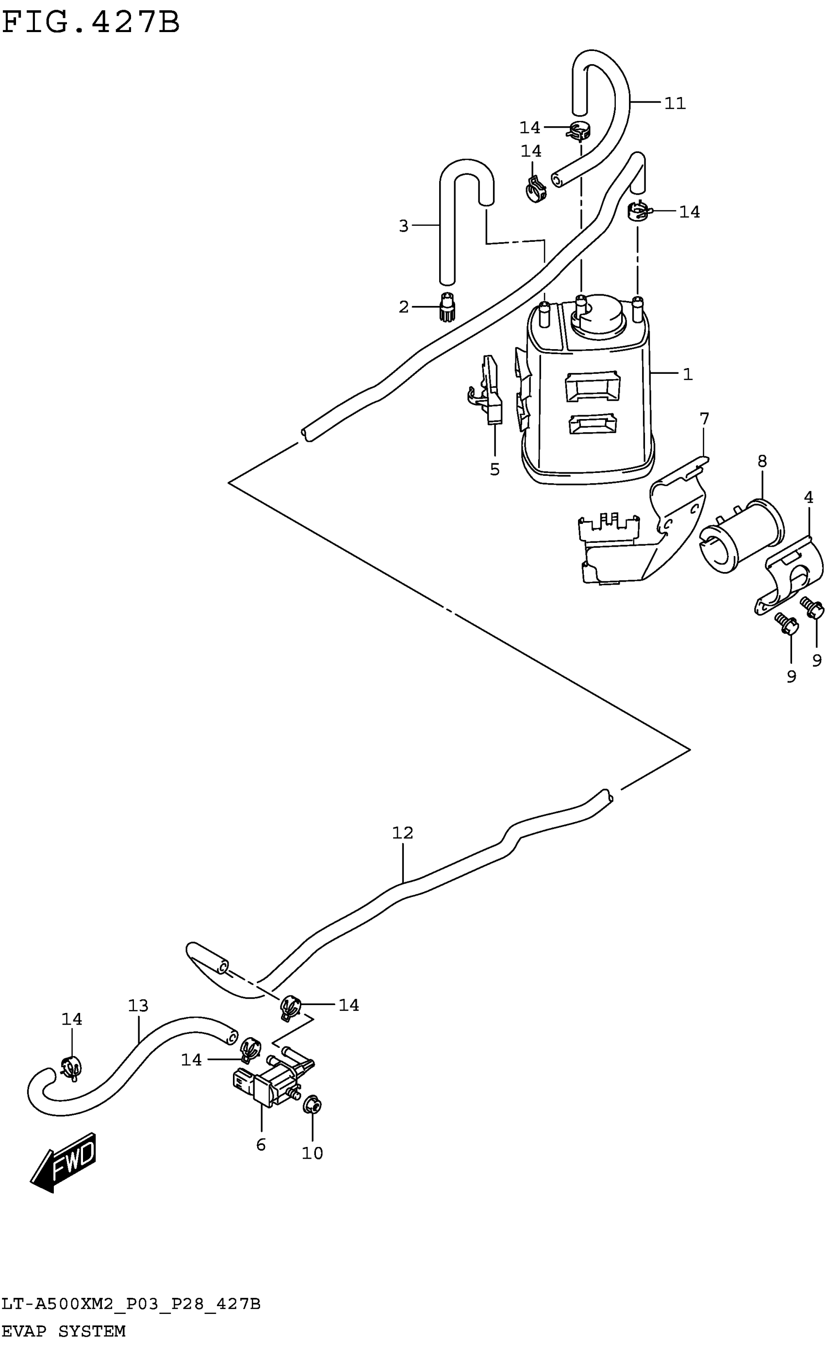
EVAP SYSTEM (LT-A500XPM2 P33)
Suzuki LT-A500XM2 (2025) EVAP SYSTEM (LT-A500XPM2 P33) Diagram
#
Description
Price
2
FILTER, PURGE AIR SUCTION
18566-60G00
Unavailable
