Partiron

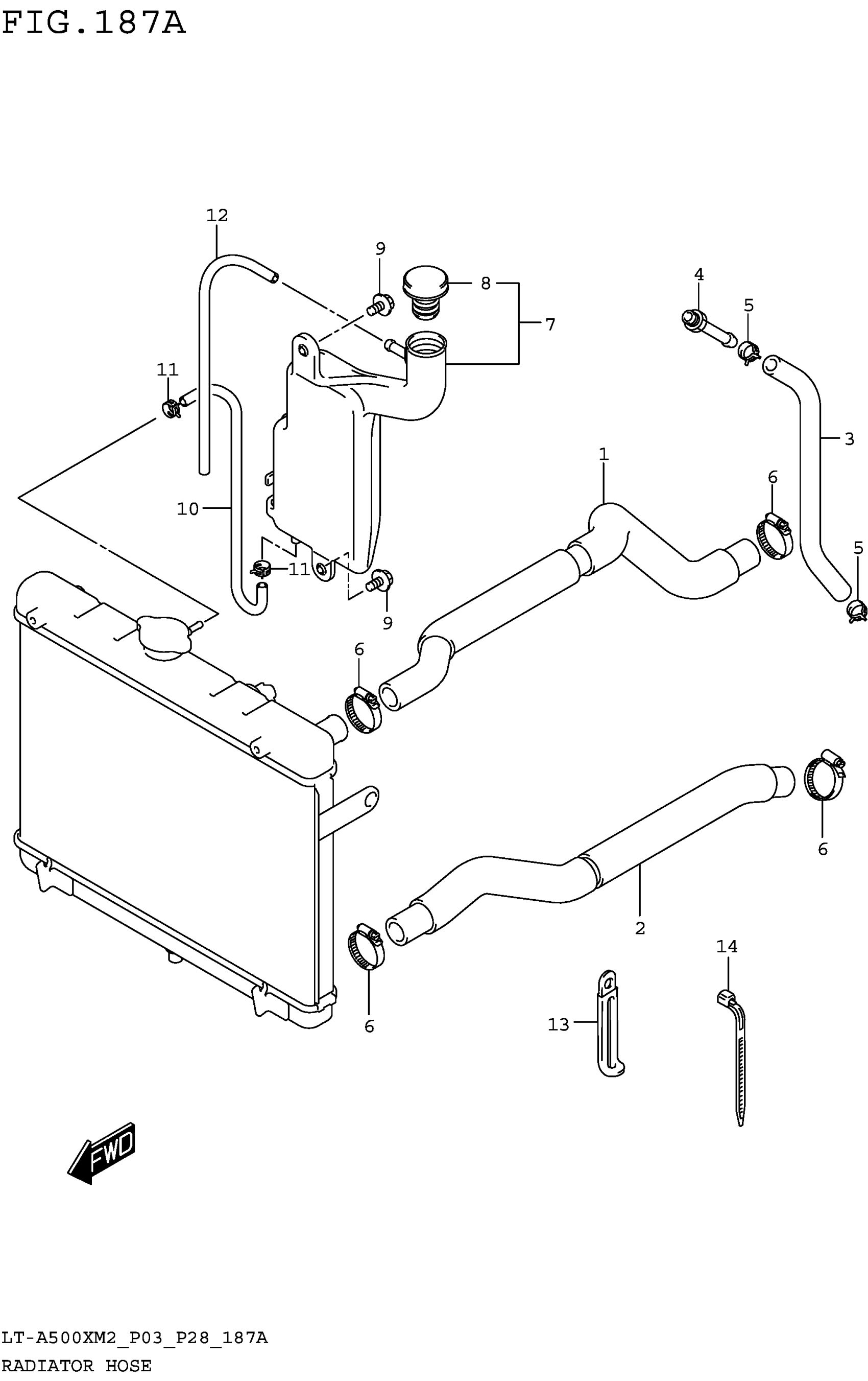
Suzuki LT-A500XM2 (2022) RADIATOR HOSE Diagram

#

Description
Price

1

HOSE, RADIATOR INLET

17851-31G00

$39.54

2

HOSE, RADIATOR OUTLET

17852-31G00

$46.52

3

HOSE, WATER BYPASS

17854-11H00

$31.70

4

UNION

09362-09011

$8.28

5

CLIP

09401-12414

$3.26

6

CLAMP

09402-32512

$12.85

7

TANK,RESERVOIR This part replaces 17910-34K00.

17911-34K00

$31.43

8

.CAP,RESERVOIR TANK

17931-02FA0

$5.56

9

BOLT (6X16)

09111-06257

$3.73

10

HOSE SET, RSVR TANK INLET | (L:600) L:600->450

17900-44810

$12.79

11

CLIP (ID:8.6)

09401-08411

$1.78

12

HOSE (5X9X600)

09352-50901-600

$8.06

13

CLAMP (L:45)

09404-06429

$1.83

14

CLAMP (L:190)

09407-19401

$3.05