- Partiron
- OEM Parts
- Suzuki
- All Terrain Vehicle
- 2021
- LT-A500XM1 (2021)
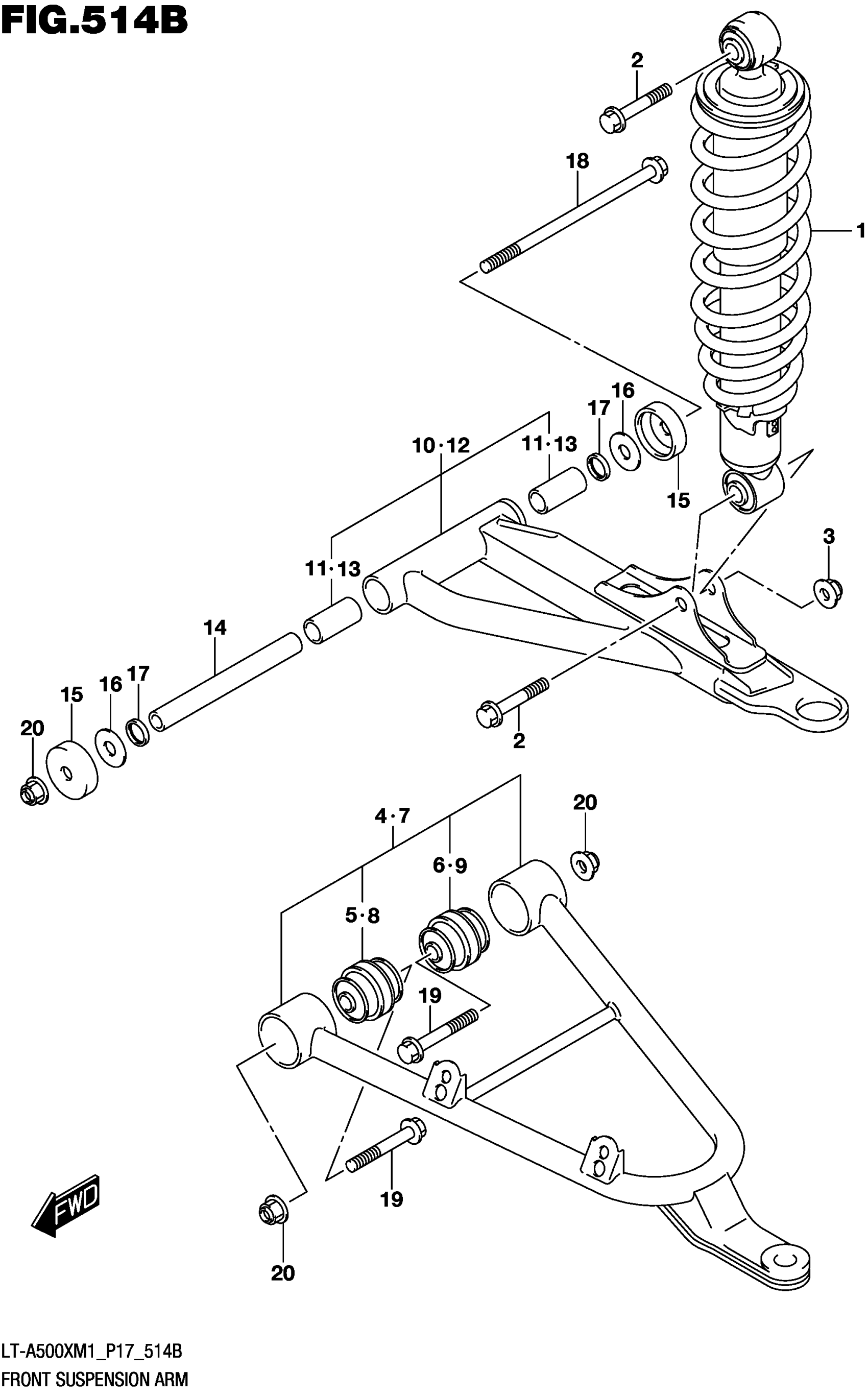
FRONT SUSPENSION ARM (LT-A500XPM1 P17)
Suzuki LT-A500XM1 (2021) FRONT SUSPENSION ARM (LT-A500XPM1 P17) Diagram
#
Description
Price
FRONT SUSPENSION ARM (LT-A500XPM1 P17)
#
Edit ride
