Partiron

Suzuki LT-A500XM0 (2020) MUFFLER Diagram

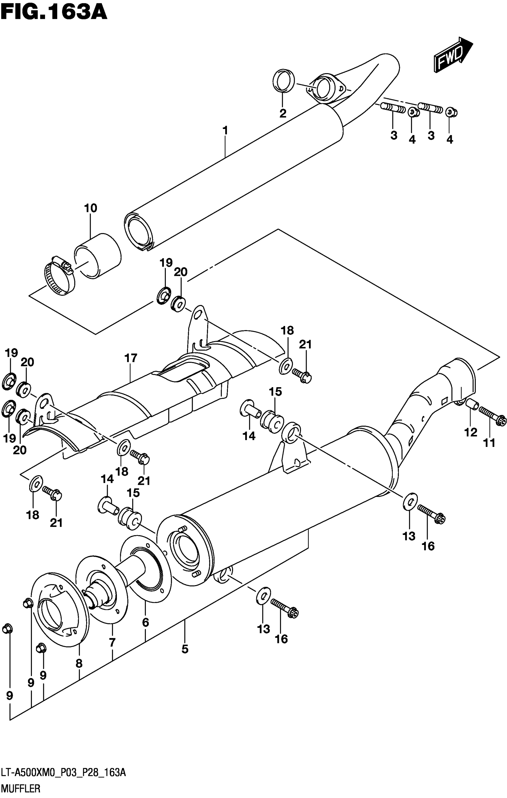
#

Description
Price

1

PIPE ASSY, EXH This part replaces 14100-11H20.

14100-11H30

$179.73

2

.GASKET,EXHAUST

14181-18C00

$7.22

3

BOLT,STUD

01421-0825A

$2.03

4

NUT

08319-3108A

$2.32

5

BODY, MUFFLER

14310-11H40

$721.58

6

.GASKET

14770-11H00

$21.32

7

.ARRESTER

14850-11H10

$86.32

8

.PLATE

14852-11H20

$37.48

9

.NUT

08313-20067

$2.42

10

CONNECTOR, MUF This part replaces 14771-13E00.

14771-13E10

$15.57

11

BOLT

07120-0835A

$3.55

12

SPACER

14424-07G01

$3.95

13

WASHER (8.5X30X2.3)

09160-08503

$2.50

14

SPACER (8.6X12X24.2)

09180-08152

$5.83

15

CUSHION

09320-12071

$9.15

16

BOLT

07120-0840A

$3.42

17

COVER, MUF

14880-31G60

Unavailable

18

WASHER, EXHAUST PIPE COVER

14184-07G00

$1.98

19

SPACER, EXHAUST PIPE COVER

14185-07G00

$3.76

20

CUSHION

09320-08069

$8.37

21

BOLT

01550-0616A

$1.97