- Partiron
- OEM Parts
- Suzuki
- All Terrain Vehicle
- 2019
- LT-A500XL9 (2019)
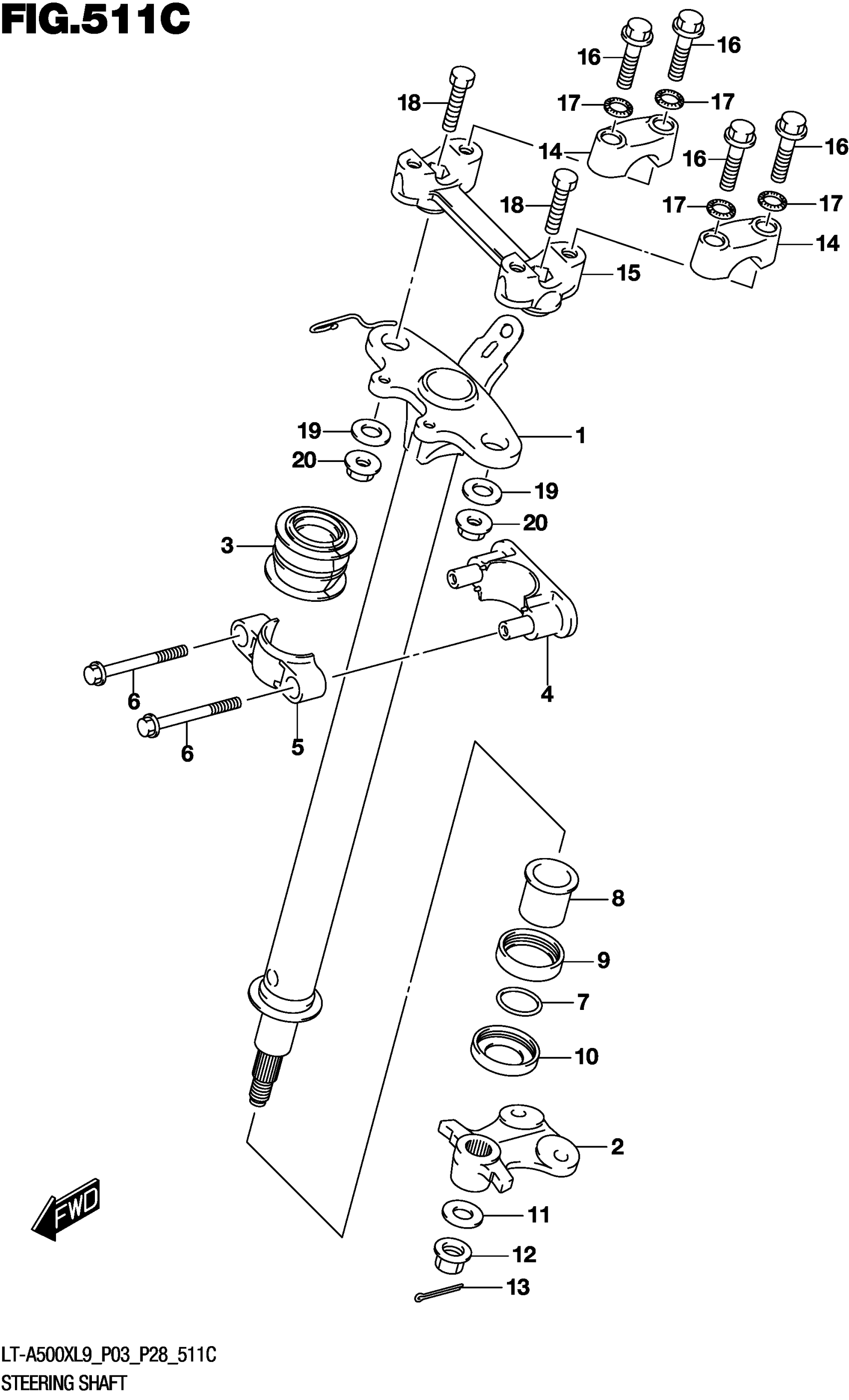
STEERING SHAFT (LT-A500XL9 P33)
Suzuki LT-A500XL9 (2019) STEERING SHAFT (LT-A500XL9 P33) Diagram
#
Description
Price
STEERING SHAFT (LT-A500XL9 P33)
#
Edit ride
