- Partiron
- OEM Parts
- Suzuki
- All Terrain Vehicle
- 2019
- LT-A500XL9 (2019)
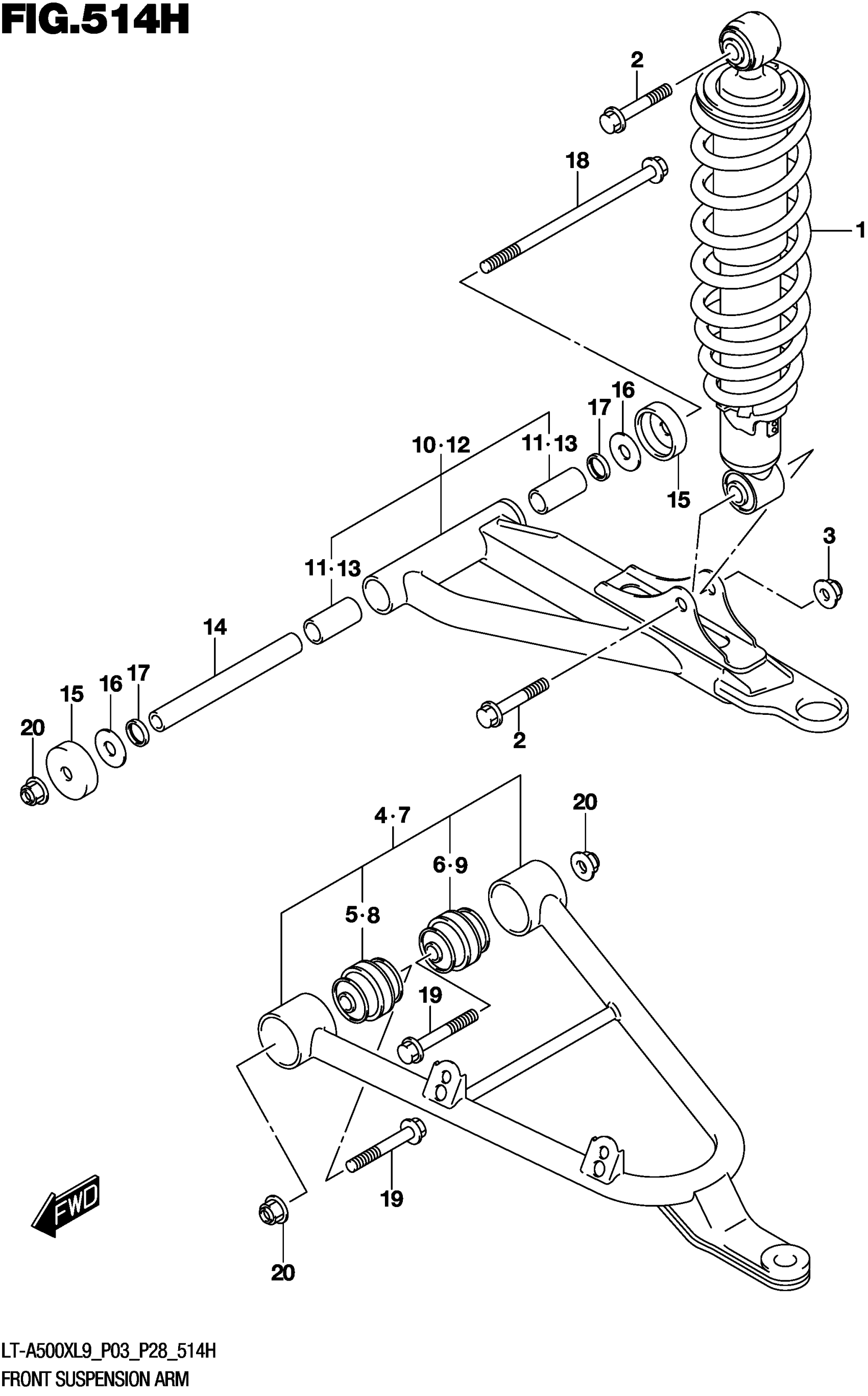
FRONT SUSPENSION ARM (LT-A500XPZL9 P28)
Suzuki LT-A500XL9 (2019) FRONT SUSPENSION ARM (LT-A500XPZL9 P28) Diagram
#
Description
Price
FRONT SUSPENSION ARM (LT-A500XPZL9 P28)
#
Edit ride
