- Partiron
- OEM Parts
- Suzuki
- All Terrain Vehicle
- 2016
- LT-A500XL6 (2016)
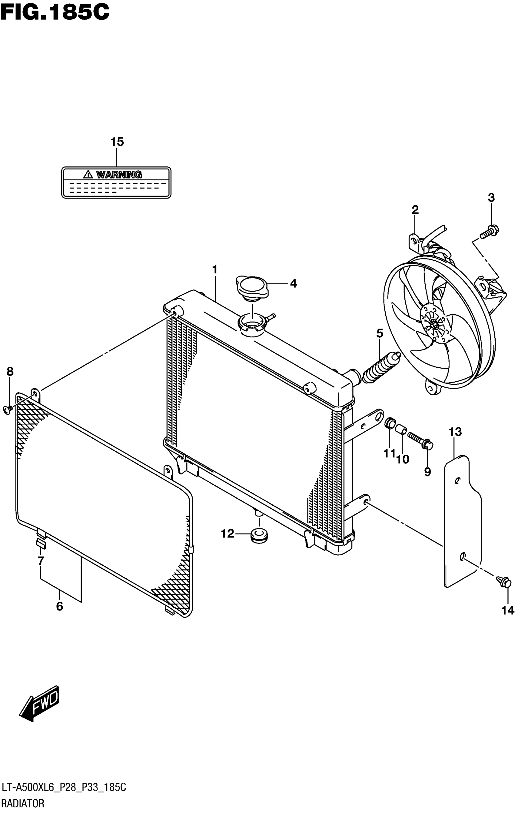
RADIATOR (LT-A500XZL6 P33)
Suzuki LT-A500XL6 (2016) RADIATOR (LT-A500XZL6 P33) Diagram
#
Description
Price
RADIATOR (LT-A500XZL6 P33)
#
Edit ride
