- Partiron
- OEM Parts
- Suzuki
- All Terrain Vehicle
- 2015
- LT-A500XL5 (2015)
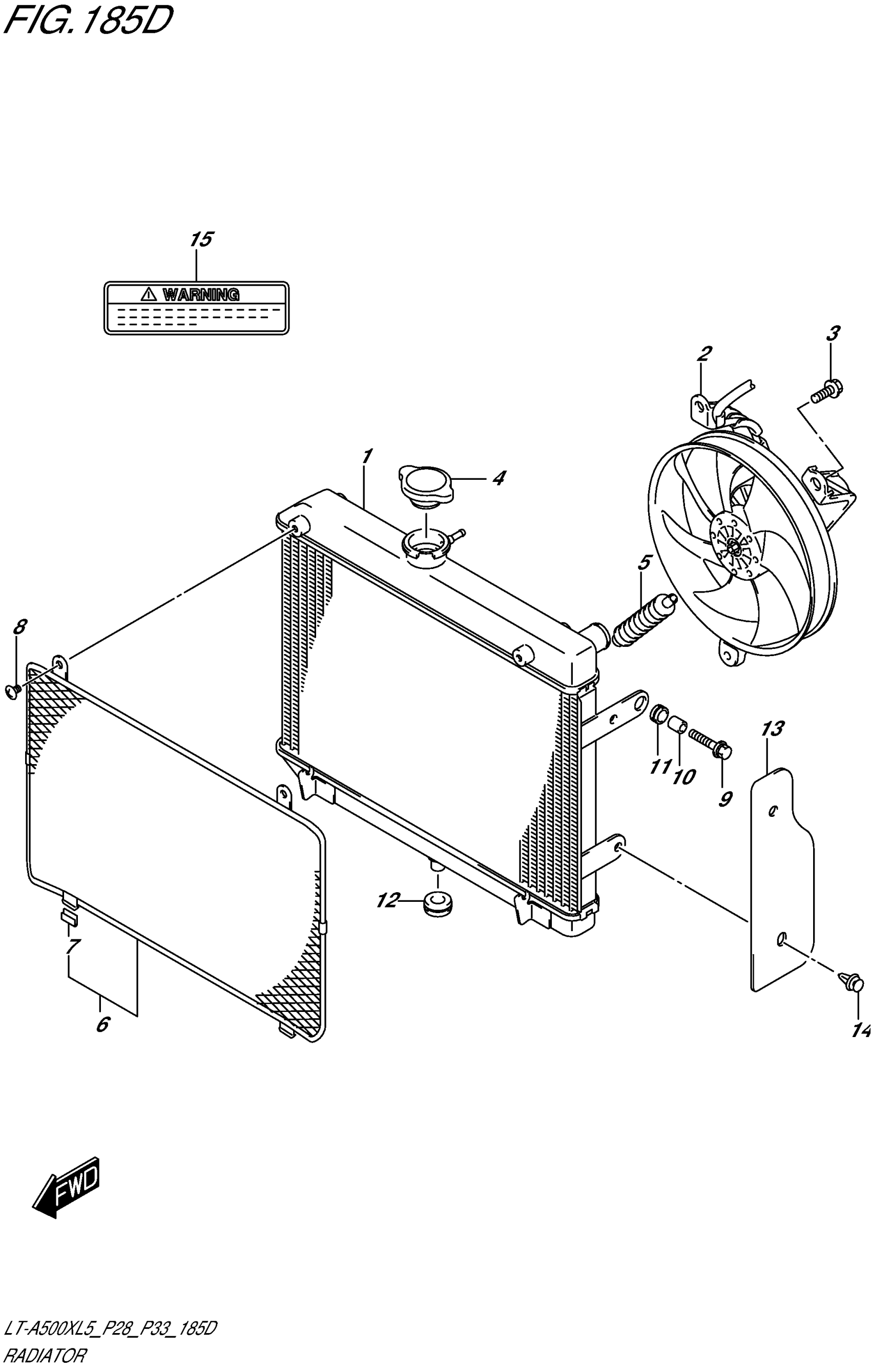
RADIATOR (LT-A500XZL5 P33)
Suzuki LT-A500XL5 (2015) RADIATOR (LT-A500XZL5 P33) Diagram
#
Description
Price
RADIATOR (LT-A500XZL5 P33)
#
Edit ride
