Partiron

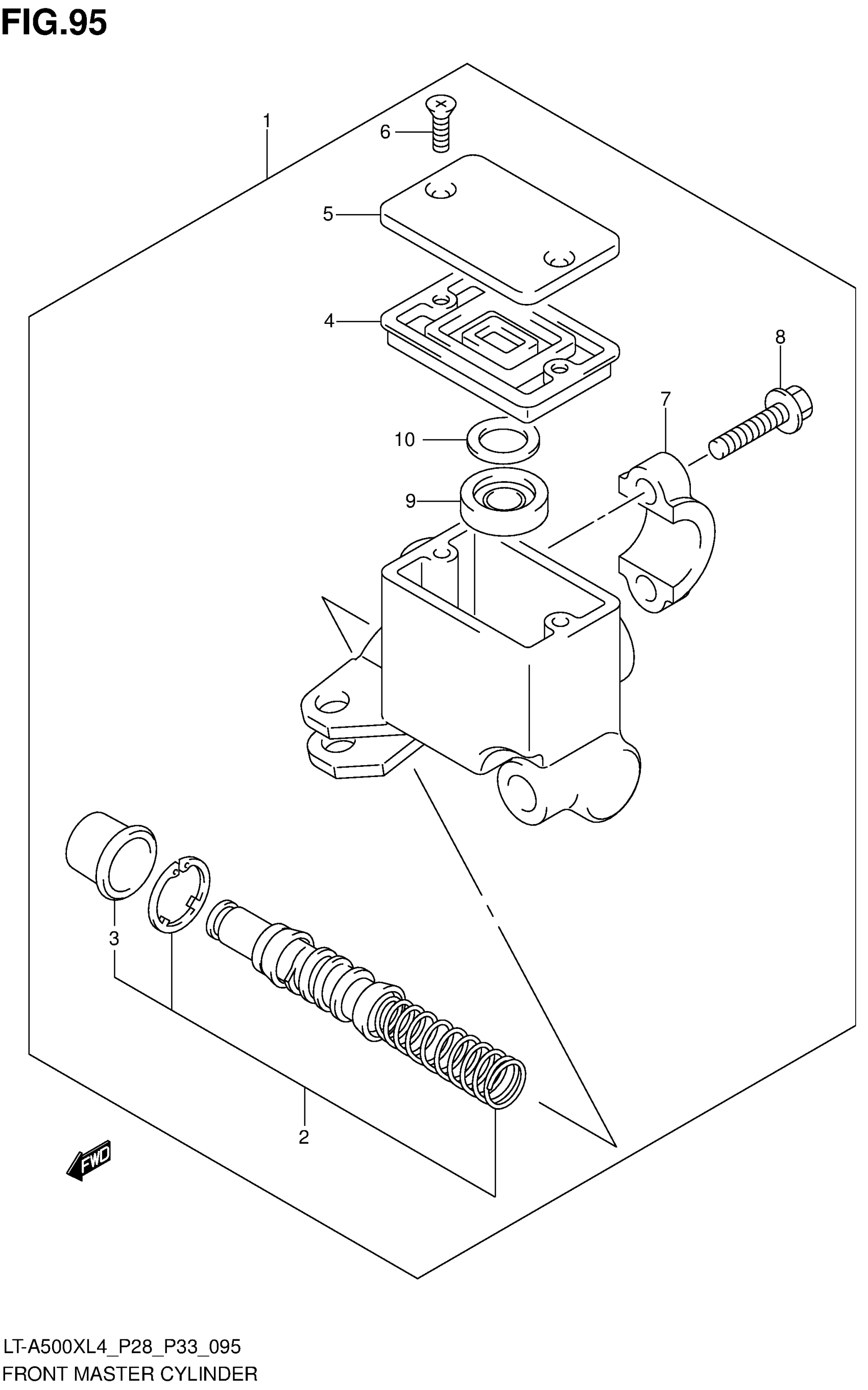
Suzuki LT-A500XL4 (2014) FRONT MASTER CYLINDER Diagram

#

Description
Price

1

CYLINDER ASSY, FRONT MASTER

59600-12D10

$295.83

2

PISTON/CUP SET

59600-45850

$39.48

3

BOOT

59666-44300

$5.80

4

DIAPHRAGM

59667-44B00

$9.78

5

CAP

69669-24A01

$15.10

6

SCREW, CAP

69689-49300

$1.91

7

.HOLDER

59671-36500

$12.21

8

BOLT

59675-02FA0

$3.82

9

SEPARATOR

59748-15400

$9.38

10

PLATE

59749-15400

$2.79