Partiron

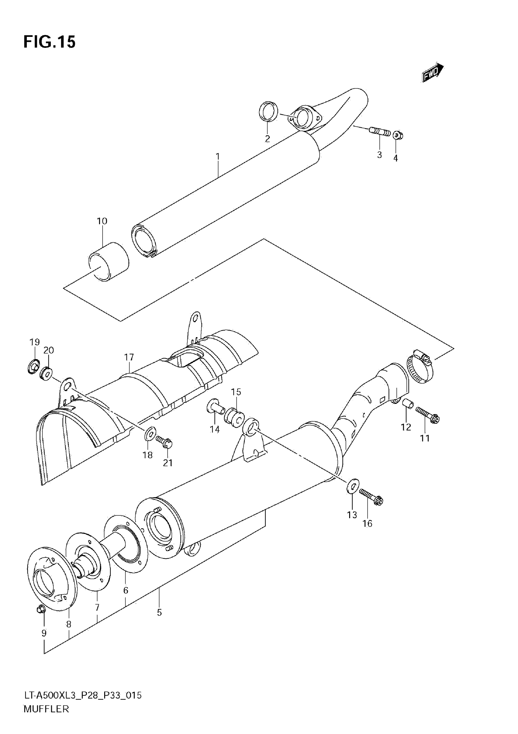
Suzuki LT-A500XL3 (2013) MUFFLER Diagram

#

Description
Price

1

PIPE ASSY, EXH This part replaces 14100-11H00.

14100-11H30

$179.73

2

.GASKET,EXHAUST

14181-18C00

$7.22

3

STUD BOLT

01421-0820A

$1.91

4

NUT

08319-3108A

$2.32

5

BODY,MUFFLER This part replaces 14310-11H00.

14310-11H21

$510.65

6

GASKET

14770-11H00

$21.32

7

ARRESTER

14850-11H00

$96.57

8

PLATE

14852-11H00

$66.58

9

NUT

08313-20067

$2.42

10

CONNECTOR, MUF This part replaces 14771-13E00.

14771-13E10

$15.57

11

BOLT

07120-0835A

$3.55

12

SPACER

14424-07G01

$3.95

13

WASHER (8.5X30X2.3)

09160-08503

$2.50

14

SPACER (8.6X12X24.2)

09180-08152

$5.83

15

CUSHION

09320-12071

$9.15

16

BOLT

07120-0840A

$3.42

17

COVER, MUFFLER

14880-31G00

$193.45

18

WASHER, MUF COVER

14184-07G00

$1.98

19

SPACER, MUF COVER

14185-07G00

$3.76

20

CUSHION

09320-08069

$8.37

21

BOLT

01550-0616A

$1.97