Partiron

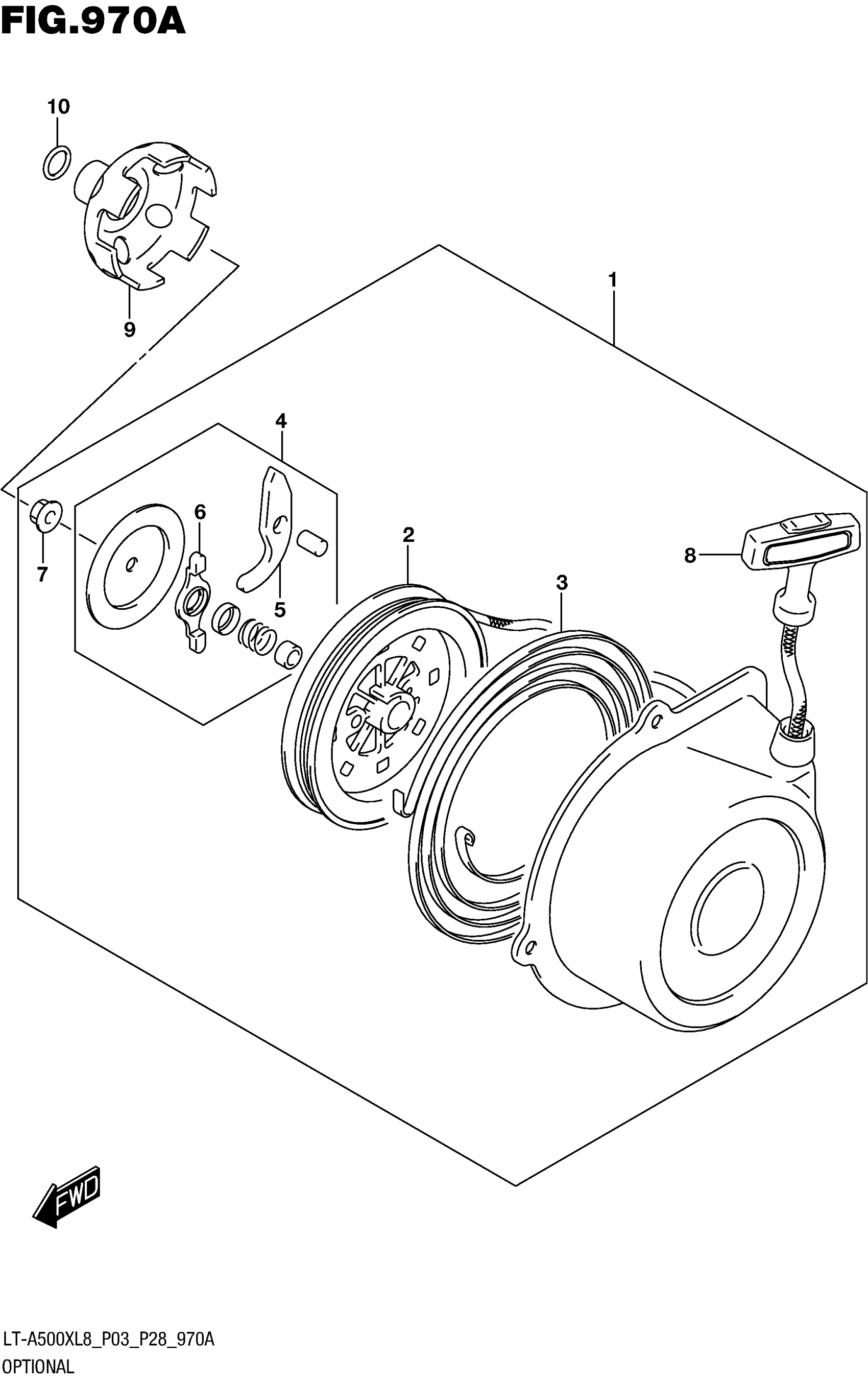
Suzuki LT-A500X, AXI, L8 (2018) OPTIONAL (RECOIL STARTER) Diagram

#

Description
Price

1

STARTER ASSY,RECOIL

18100-24503

$225.42

2

.REEL

18120-24500

$47.40

3

.SPRING,SPIRAL

18142-24400

$29.60

4

.RATCHET SET

18130-24400

$16.96

5

..RATCHET

18131-24411

$8.12

6

..GUIDE,RATCHET

18132-24400

$2.92

7

.NUT

08316-1006A

$2.19

8

.ROPE ASSY

18200-24501

$38.13

9

CUP,STARTER

18410-09F02

$77.07

10

O RING (D:1.9,ID:12.6) This part replaces 09280-13007.

09280-12009

$3.18