- Partiron
- OEM Parts
- Suzuki
- All Terrain Vehicle
- 2007
- LT-A500F (2007)
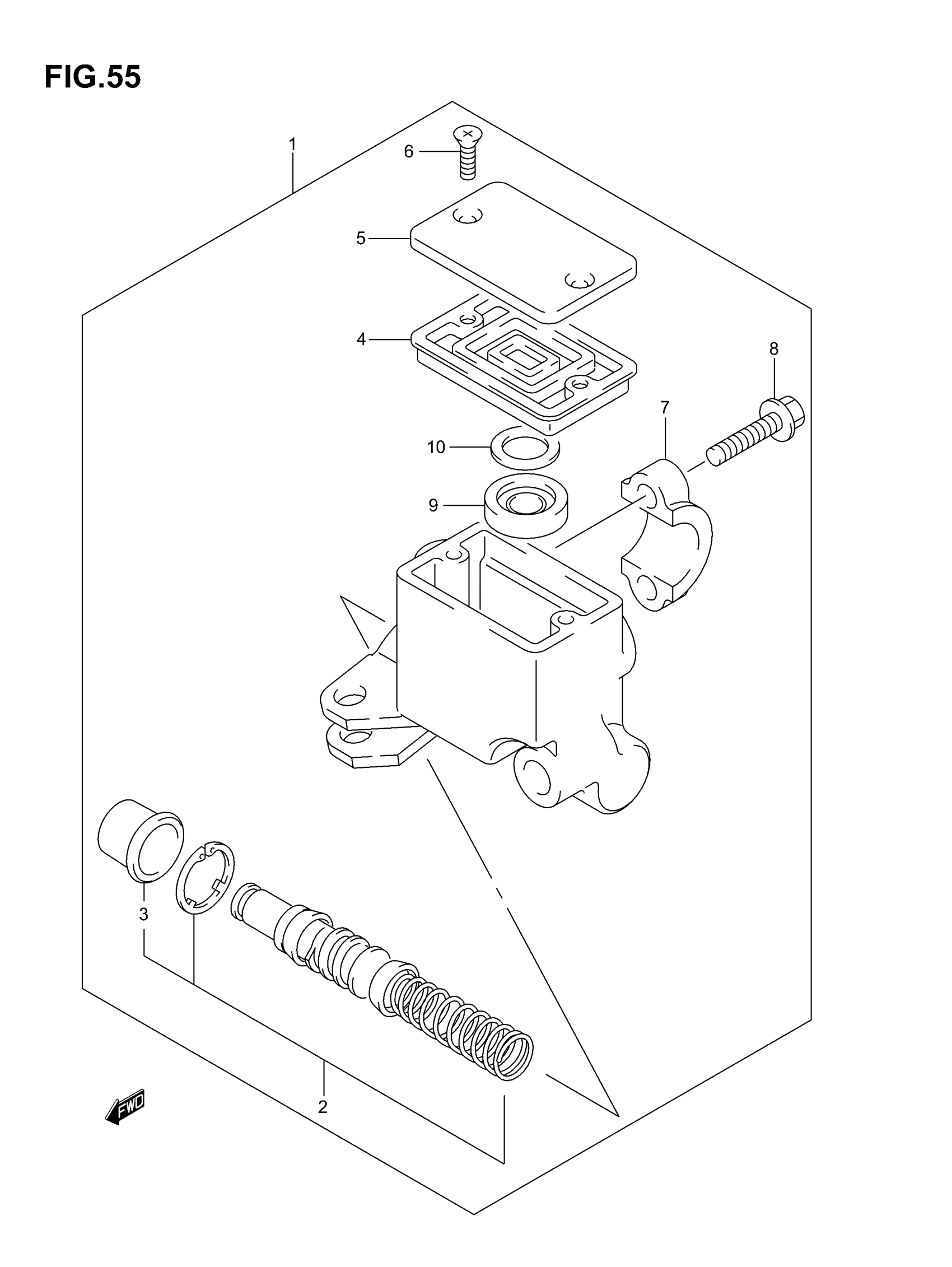
FRONT MASTER CYLINDER
Suzuki LT-A500F (2007) FRONT MASTER CYLINDER Diagram
#
Description
Price
FRONT MASTER CYLINDER
#
Edit ride
