- Partiron
- OEM Parts
- Suzuki
- All Terrain Vehicle
- 2014
- LT-A400L4 (2014)
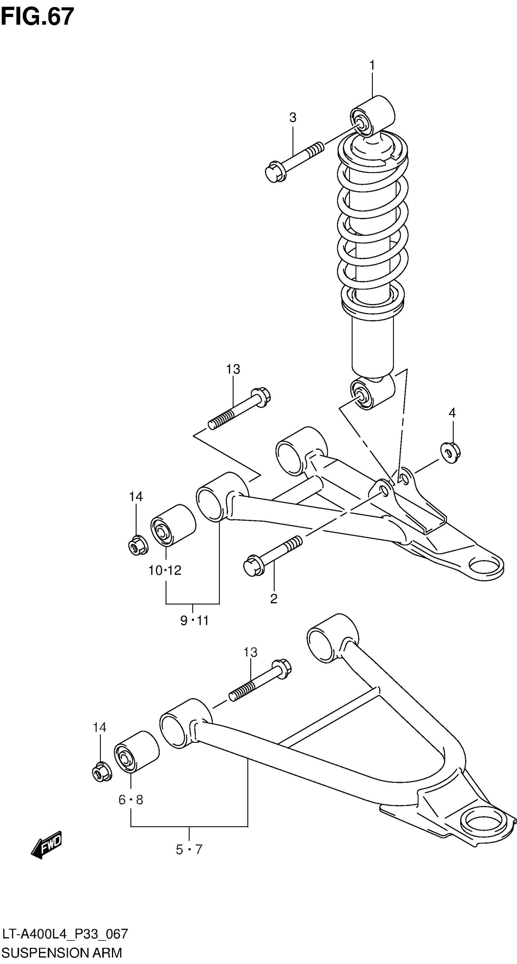
SUSPENSION ARM (LT-A400L4 P33)
Suzuki LT-A400L4 (2014) SUSPENSION ARM (LT-A400L4 P33) Diagram
#
Description
Price
5
ARM SET, SUSPENSION LOWER RH
52410-27810
Unavailable
