Partiron

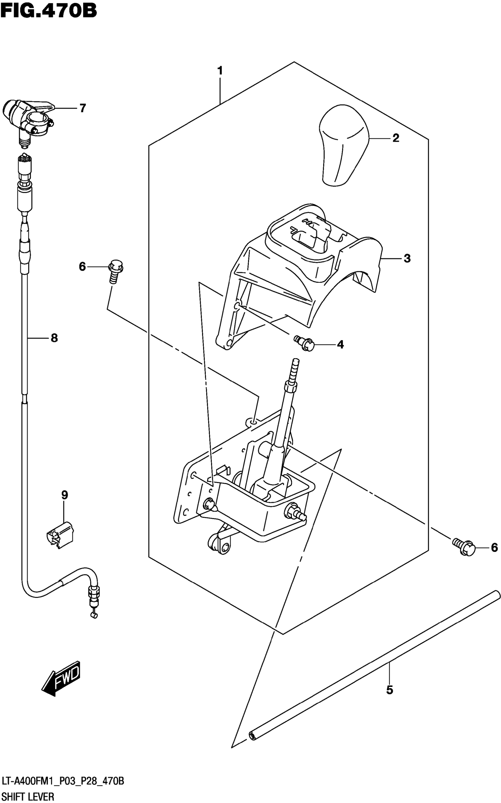
Suzuki LT-A400FM1 (2021) SHIFT LEVER Diagram

#

Description
Price

1

LEVER ASSY, TRANSMISSION

57800-27H31

$279.93

2

.KNOB,T/M LEVER

57830-27H00

$30.62

3

.COVER,T/M LEVER GATE

57941-27H10

$42.70

4

.BOLT (6X20.6)

09111-06079

$5.11

5

ROD,T/M LEVER

57911-27H10

Unavailable

6

BOLT

01550-0830A

$3.04

7

LEVER, TRANSFER

57920-38F20

$220.10

8

CABLE,TRANSFER SHIFT

58690-27H00

$73.40

9

CLAMP

09403-10405

$3.15