- Partiron
- OEM Parts
- Suzuki
- All Terrain Vehicle
- 2015
- LT-A400FL5 (2015)
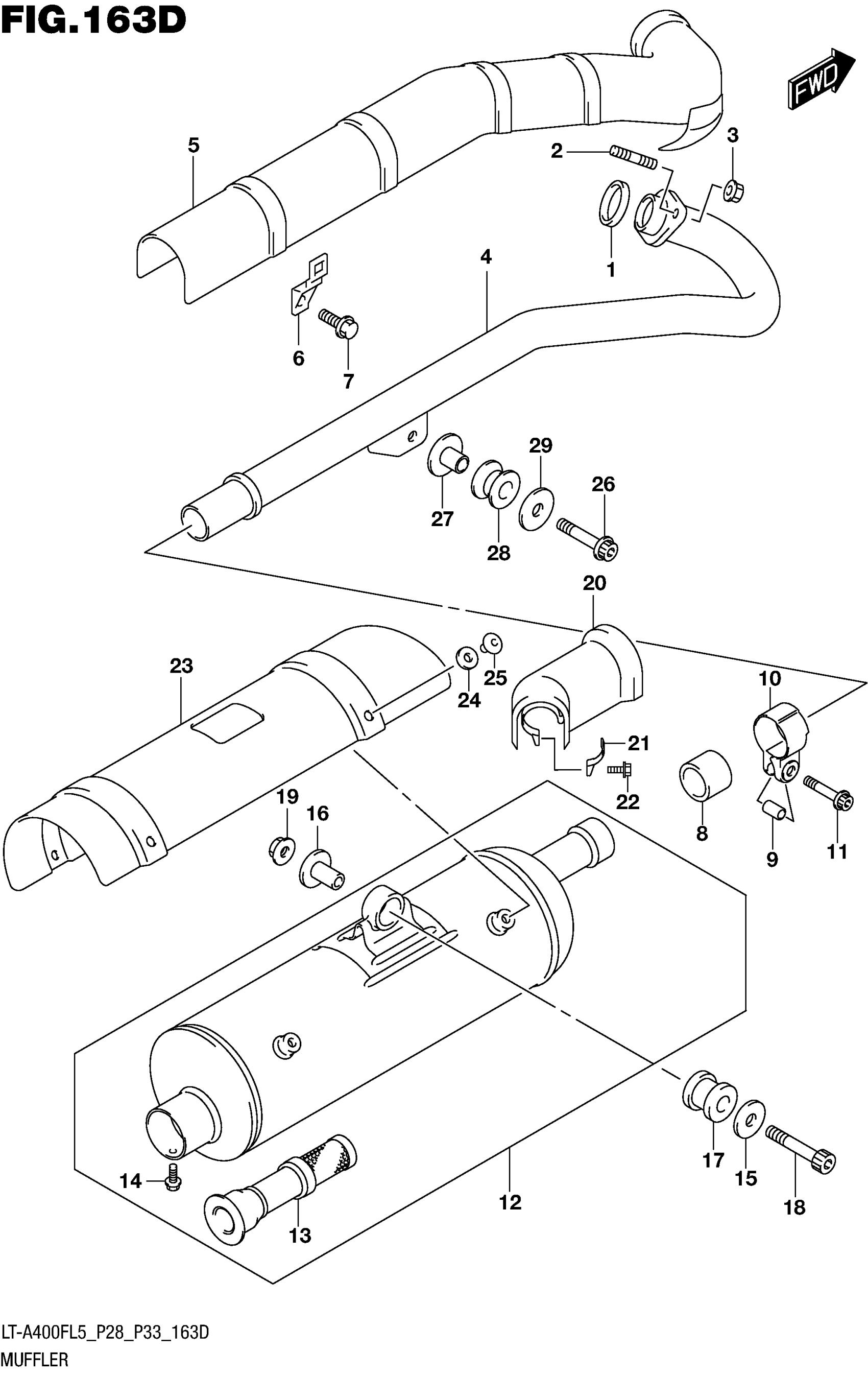
MUFFLER (LT-A400FZL5 P33)
Suzuki LT-A400FL5 (2015) MUFFLER (LT-A400FZL5 P33) Diagram
#
Description
Price
MUFFLER (LT-A400FZL5 P33)
#
Edit ride
