- Partiron
- OEM Parts
- Suzuki
- All Terrain Vehicle
- 2014
- LT-A400FL4 (2014)
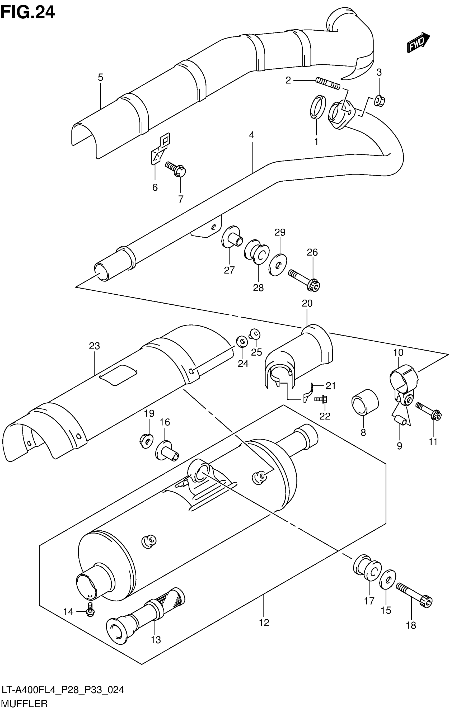
MUFFLER (LT-A400FZL4 P33)
Suzuki LT-A400FL4 (2014) MUFFLER (LT-A400FZL4 P33) Diagram
#
Description
Price
MUFFLER (LT-A400FZL4 P33)
#
Edit ride
