- Partiron
- OEM Parts
- Suzuki
- All Terrain Vehicle
- 2010
- LT-A400FK8 (2010)
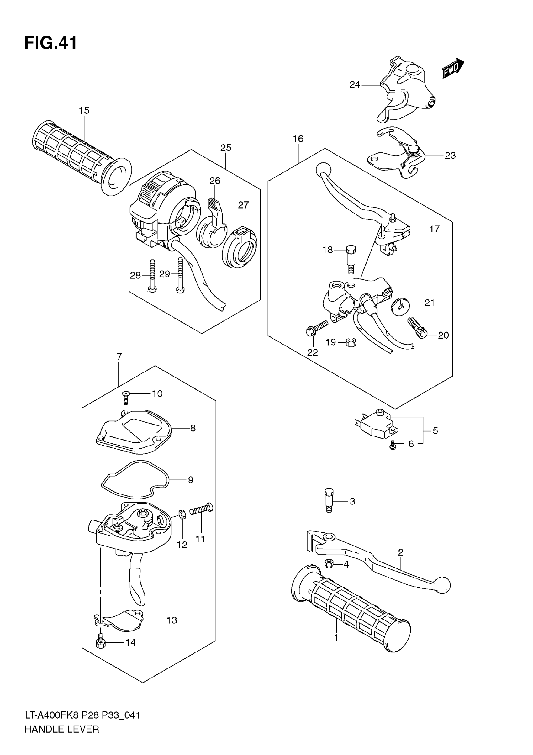
HANDLE LEVER
Suzuki LT-A400FK8 (2010) HANDLE LEVER Diagram
#
Description
Price
9
GASKET
57157-27H00
Unavailable
HANDLE LEVER
#
9
57157-27H00
Unavailable
Edit ride
