- Partiron
- OEM Parts
- Suzuki
- All Terrain Vehicle
- 2017
- LT-A400FCL7 ASI, (XD3 CAMO) (2017)
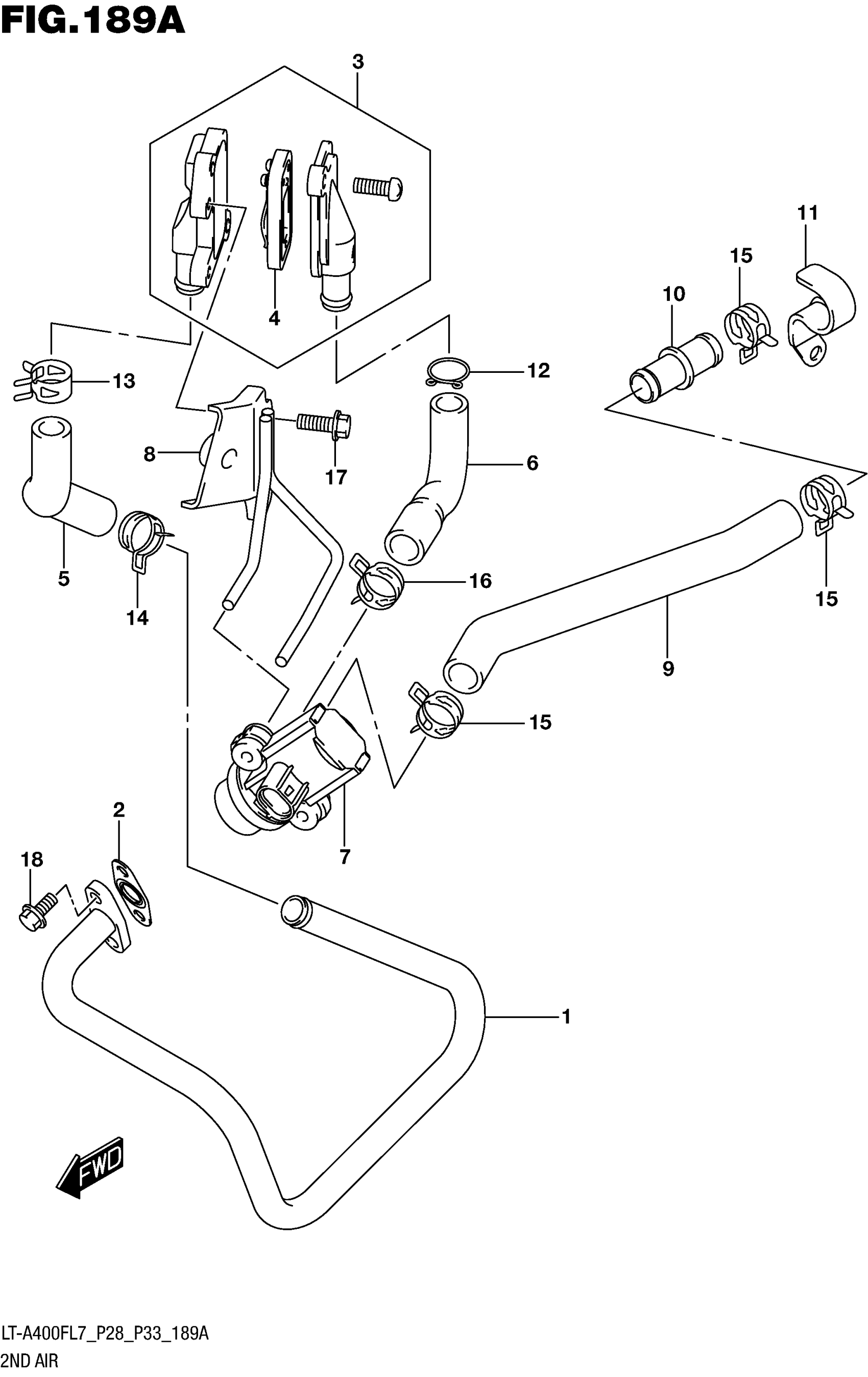
2ND AIR (LT-A400FL7 P28)
Suzuki LT-A400FCL7 ASI, (XD3 CAMO) (2017) 2ND AIR (LT-A400FL7 P28) Diagram
#
Description
Price
5
HOSE, 2ND AIR VALVE
18461-27H00
Unavailable
6
HOSE, 2ND AIR SWITCHING VALVE
18481-27H00
Unavailable
10
JOINT, 2ND AIR CLEANER HOSE
18713-39G00
Unavailable
11
GUIDE, 2ND AIR CLEANER HOSE
18715-27H00
Unavailable
