Partiron

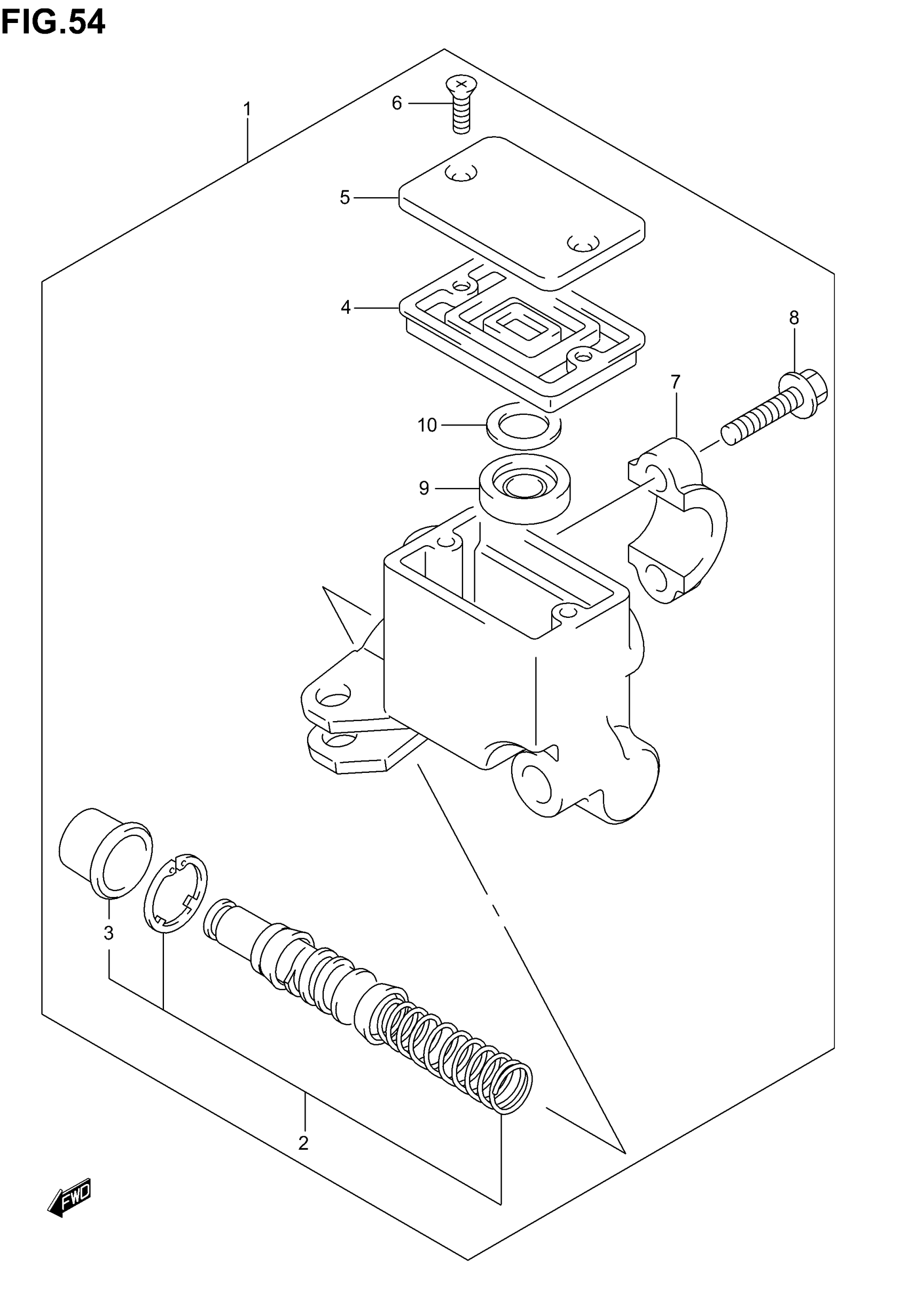
Suzuki LT-A400C (2005) FRONT MASTER CYLINDER Diagram

#

Description
Price

1

CYLINDER ASSY, FRONT MASTER | Includes Item(s) 2 - 10

59600-44B11

$294.40

2

PISTON/CUP SET

59600-45850

$39.48

3

BOOT

59666-44300

$5.80

4

DIAPHRAGM

59667-44B00

$9.78

5

CAP

69669-24A01

$15.10

6

SCREW, CAP

69689-49300

$1.91

7

.HOLDER

59671-36500

$12.21

8

BOLT HOLDER SET

59675-19C00

$4.02

9

SEPARATOR

59748-15400

$9.38

10

PLATE

59749-15400

$2.79