- Partiron
- OEM Parts
- Suzuki
- All Terrain Vehicle
- 2009
- LT-A400 (2009)
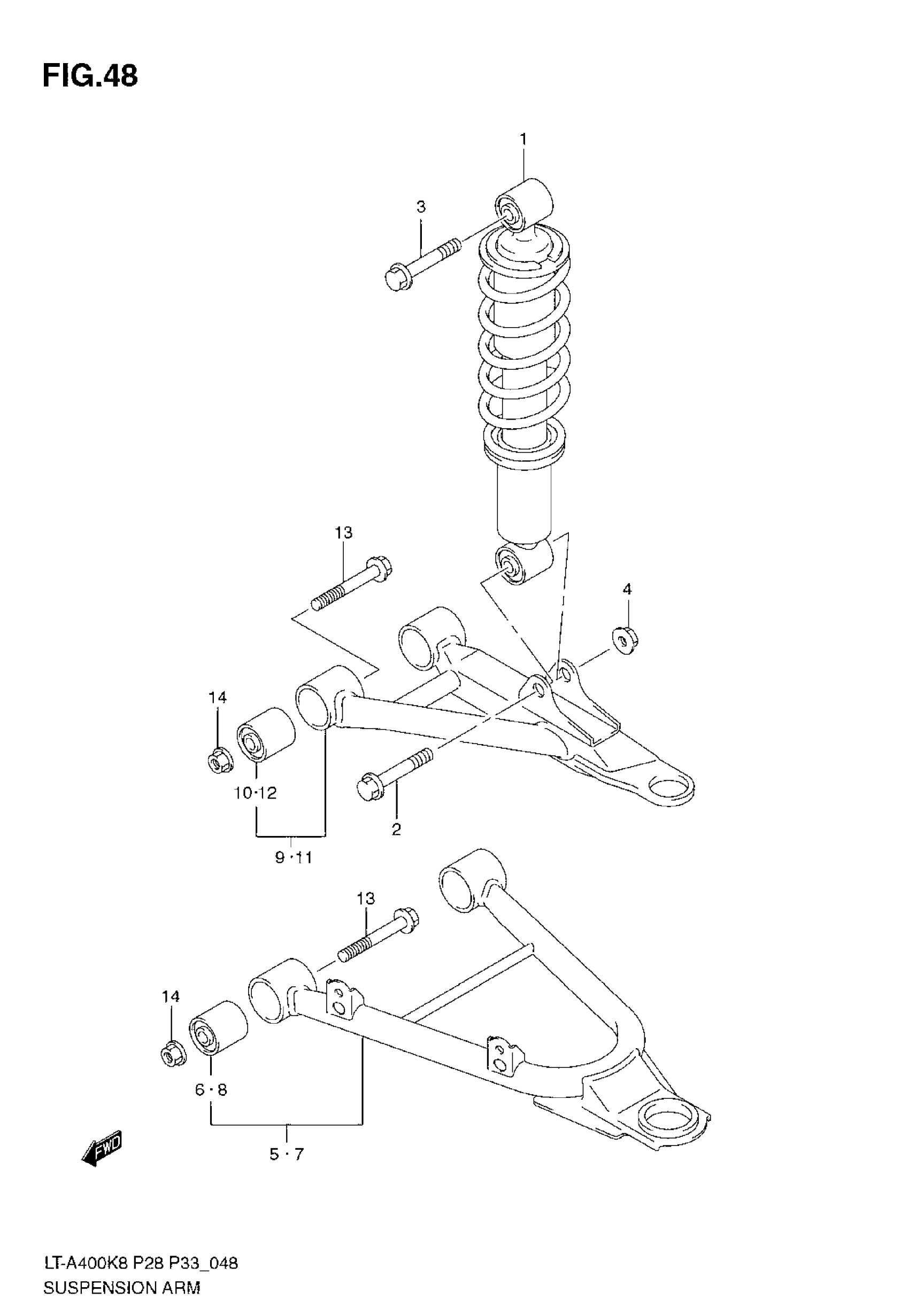
SUSPENSION ARM
Suzuki LT-A400 (2009) SUSPENSION ARM Diagram
#
Description
Price
5
ARM SET, SUSPENSION LOWER RH | Includes Item(s) 6
52410-27810
Unavailable
