Partiron

Suzuki LT-4WDX (1997) CAM CHAIN Diagram

#

Description
Price

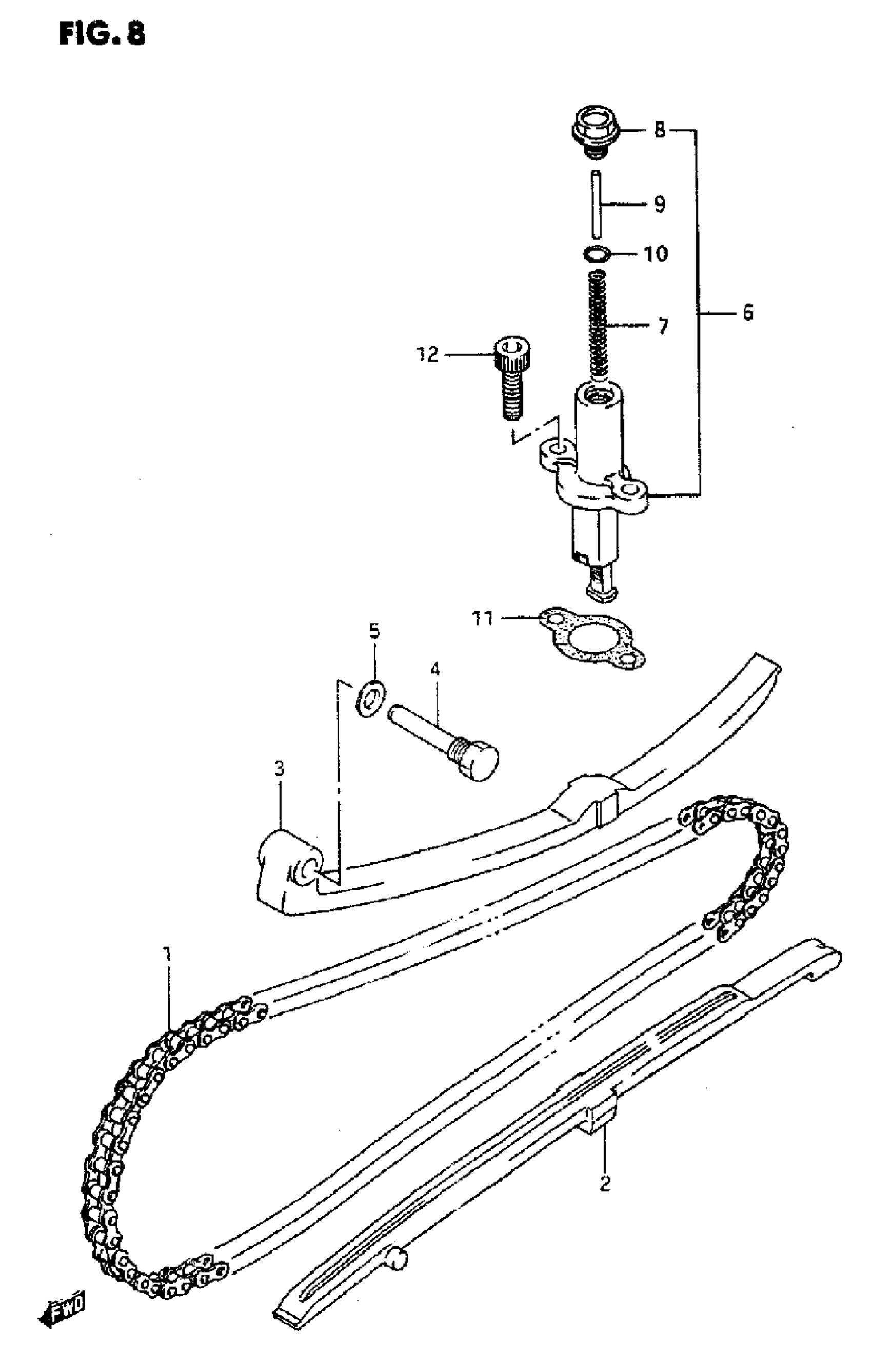
1

CHAIN, CAM (104LE)

12760-19B01

$85.73

2

GUIDE,CAM CHAIN This part replaces 12771-19B00.

12771-19B02

$29.40

3

TENSIONER,CAM C This part replaces 12811-19B10.

12811-19B11

$39.68

4

BOLT

12812-32410

$4.52

5

GASKET (8.2X14X1) This part replaces 09168-08008.

09168-08016

$1.65

6

ADJUSTER ASSY, TENSIONER

12830-19B02

$96.45

7

SPRING

12833-19B00

$3.25

8

PLUG

12834-19B00

$17.37

9

BAR

12835-19B00

$3.25

10

0 RING

12832-02A00

$2.82

11

.GASKET,TENSIONER ADJUSTER

12837-19B10

$2.73

12

BOLT, FRONT BRG HOUSING This part replaces 07130-06203.

07130-0620B

$3.05