- Partiron
- OEM Parts
- Suzuki
- All Terrain Vehicle
- 1995
- LT-4WD (1995)
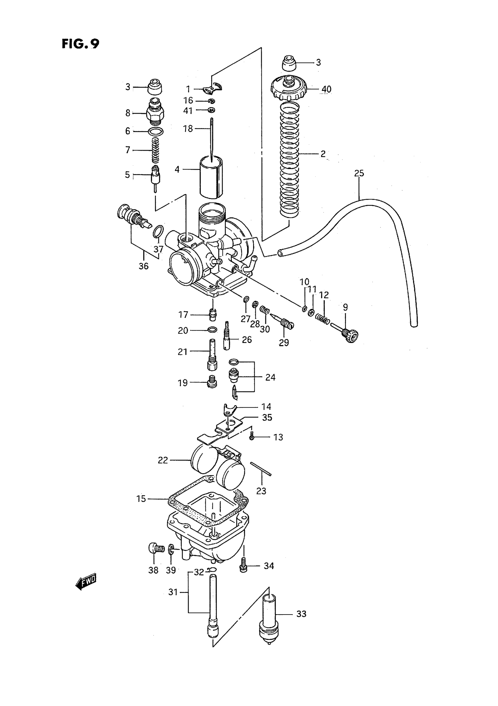
CARBURETOR (MODEL H/J/K)
Suzuki LT-4WD (1995) CARBURETOR (MODEL H/J/K) Diagram
#
Description
Price
CARBURETOR ASSY | MODEL H This part replaces 13200-19B00.
13200-19B02
Unavailable
CARBURETOR ASSY | MODEL J/K; Includes Item(s) 1 - 41
13200-19B02
Unavailable
2
SPRING, THROTTLE VALVE
13573-05320
Unavailable
4
VALVE, PISTON (CA:1.5) | MODEL H This part replaces 13551-19B00.
13551-19B01
Unavailable
4
VALVE, PISTON (CA:1.5) | MODEL J/K
13551-19B01
Unavailable
18
NEEDLE, JET (5L21-3)
13383-19B00
Unavailable
21
PIPE, BLEEDER
13385-47030
Unavailable
