- Partiron
- OEM Parts
- Suzuki
- Motorcycle
- 2004
- LS650P (2004)
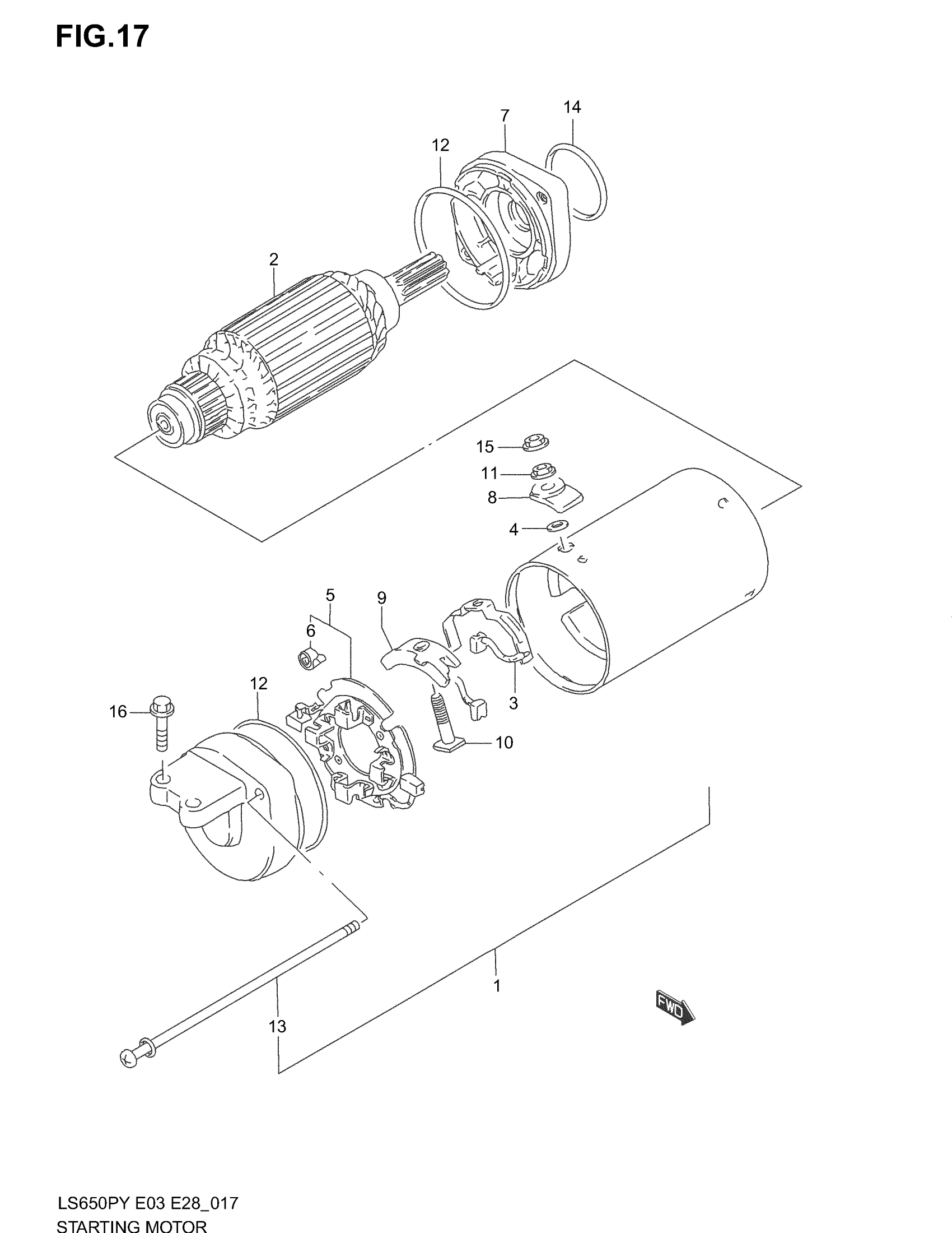
STARTING MOTOR (SEE NOTE)
Suzuki LS650P (2004) STARTING MOTOR (SEE NOTE) Diagram
#
Description
Price
1
MOTOR ASSY, STARTING | Includes Item(s) 2 - 14 This part replaces 31100-24B11-H17.
31100-07F00
Unavailable
2
ARMATURE
31310-24B01-H17
Unavailable
3
BRUSH TERMINAL SET (+)
31131-48B00
Unavailable
4
GASKET
31143-48B00
Unavailable
5
BRUSH HOLDER SET (-)
31132-48B00
Unavailable
7
BRACKET SET
31150-44B00
Unavailable
8
BUSHING
31172-48B10
Unavailable
9
BUSHING
31172-48B20
Unavailable
10
BOLT
31130-48B00
Unavailable
11
NUT
31145-48B00
Unavailable
