Partiron

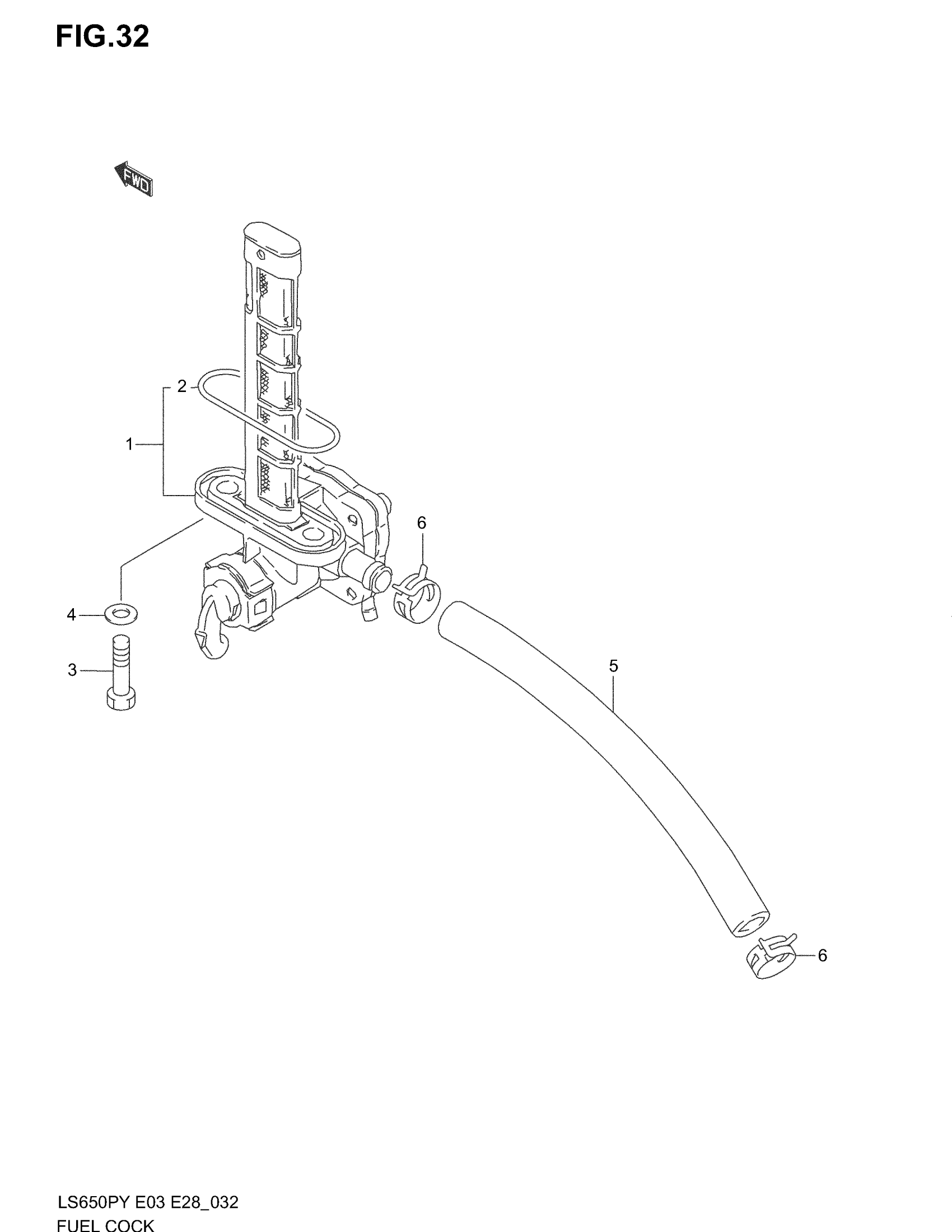
Suzuki LS650P (2004) FUEL COCK Diagram

#

Description
Price

1

COCK ASSY,FUEL | Includes Item(s) 2 This part replaces 44300-24B00.

44300-24B01

$85.57

2

FUEL COCK O RIN This part replaces 44348-28070.

44348-28071

$5.05

3

BOLT This part replaces 09128-06006.

09128-06057

$1.65

4

GASKET

09168-06026

$3.10

5

HOSE,6.5X11.5X6 | MODEL T This part replaces 09354-70123-600.

44421-12FR0

$12.33

5

HOSE,6.5X11.5X6 | MODEL V/W/X/Y/K1/K2/K3 This part replaces 09355-70125-600.

44421-12FR0

$12.33

6

CLIP This part replaces 09401-11407.

09401-11415

$2.23