- Partiron
- OEM Parts
- Suzuki
- Motorcycle
- 2014
- LS650L4 (2014)
FRONT FORK DAMPER
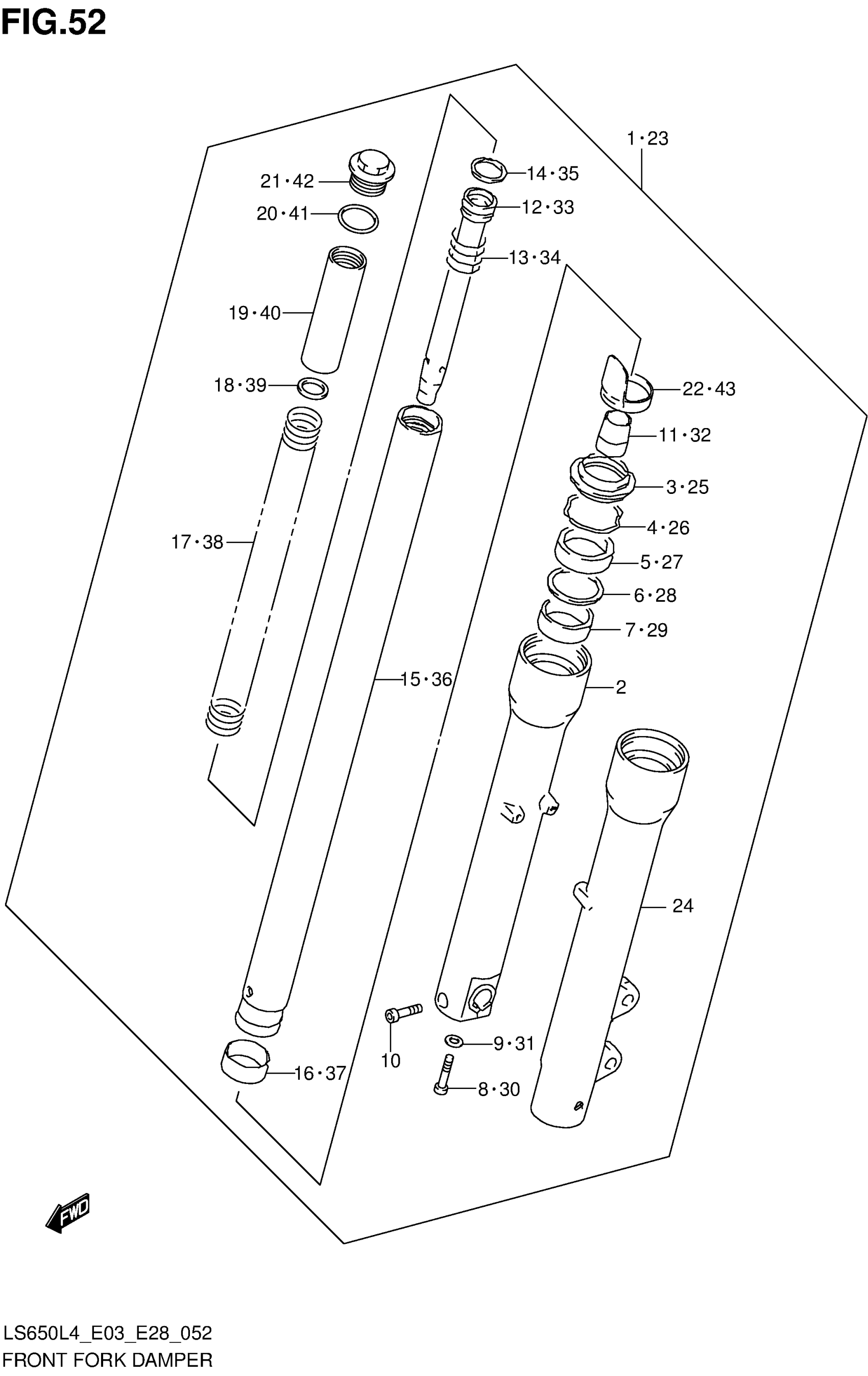
Suzuki LS650L4 (2014) FRONT FORK DAMPER Diagram
#
Description
Price
1
DAMPER ASSY, FRONT FORK RH
51103-24B50
Unavailable
2
TUBE, OUTER RH
51130-24B50
Unavailable
11
PIECE, OIL LOCK
51195-24B01
Unavailable
12
CYLINDER
51146-24B01
Unavailable
13
SPRING, REBOUND
51177-49440
Unavailable
14
RING, PISTON
51196-49440
Unavailable
17
SPRING
51171-24B00
Unavailable
21
CAP
51351-24B00
Unavailable
23
DAMPER ASSY, FRONT FORK LH
51104-24B50
Unavailable
24
TUBE, OUTER LH
51140-24B50
Unavailable
32
PIECE, OIL LOCK
51195-24B01
Unavailable
33
CYLINDER
51146-24B01
Unavailable
34
SPRING, REBOUND
51177-49440
Unavailable
35
RING, PISTON
51196-49440
Unavailable
38
SPRING
51171-24B00
Unavailable
42
CAP
51351-24B00
Unavailable
