- Partiron
- OEM Parts
- Suzuki
- Motorcycle
- 2014
- LS650L4 (2014)
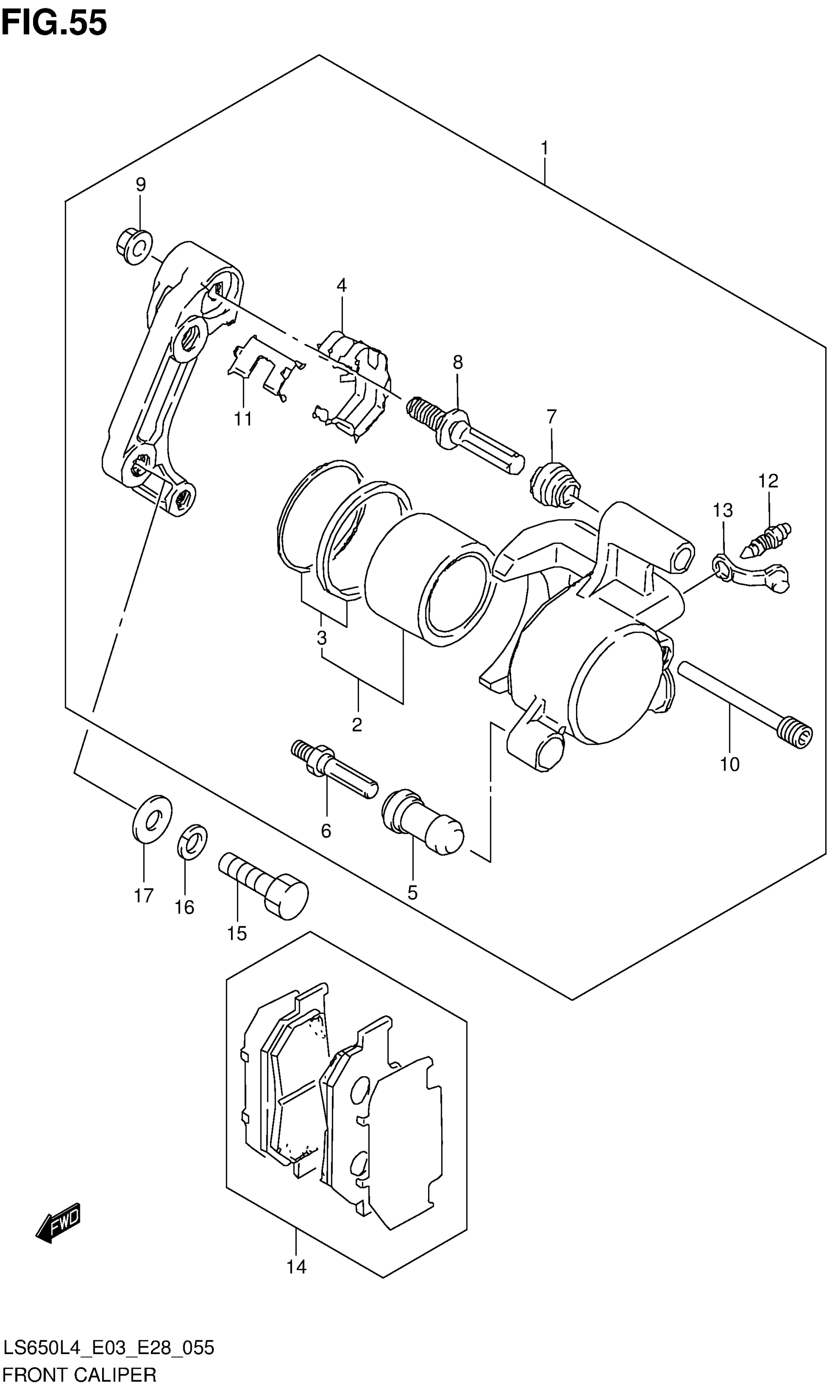
FRONT CALIPER
Suzuki LS650L4 (2014) FRONT CALIPER Diagram
#
Description
Price
9
NUT
59306-14500
Unavailable
FRONT CALIPER
#
9
59306-14500
Unavailable
Edit ride
