- Partiron
- OEM Parts
- Suzuki
- Motorcycle
- 2014
- LS650L4 (2014)
EVAP SYSTEM (LS650L4 E33)
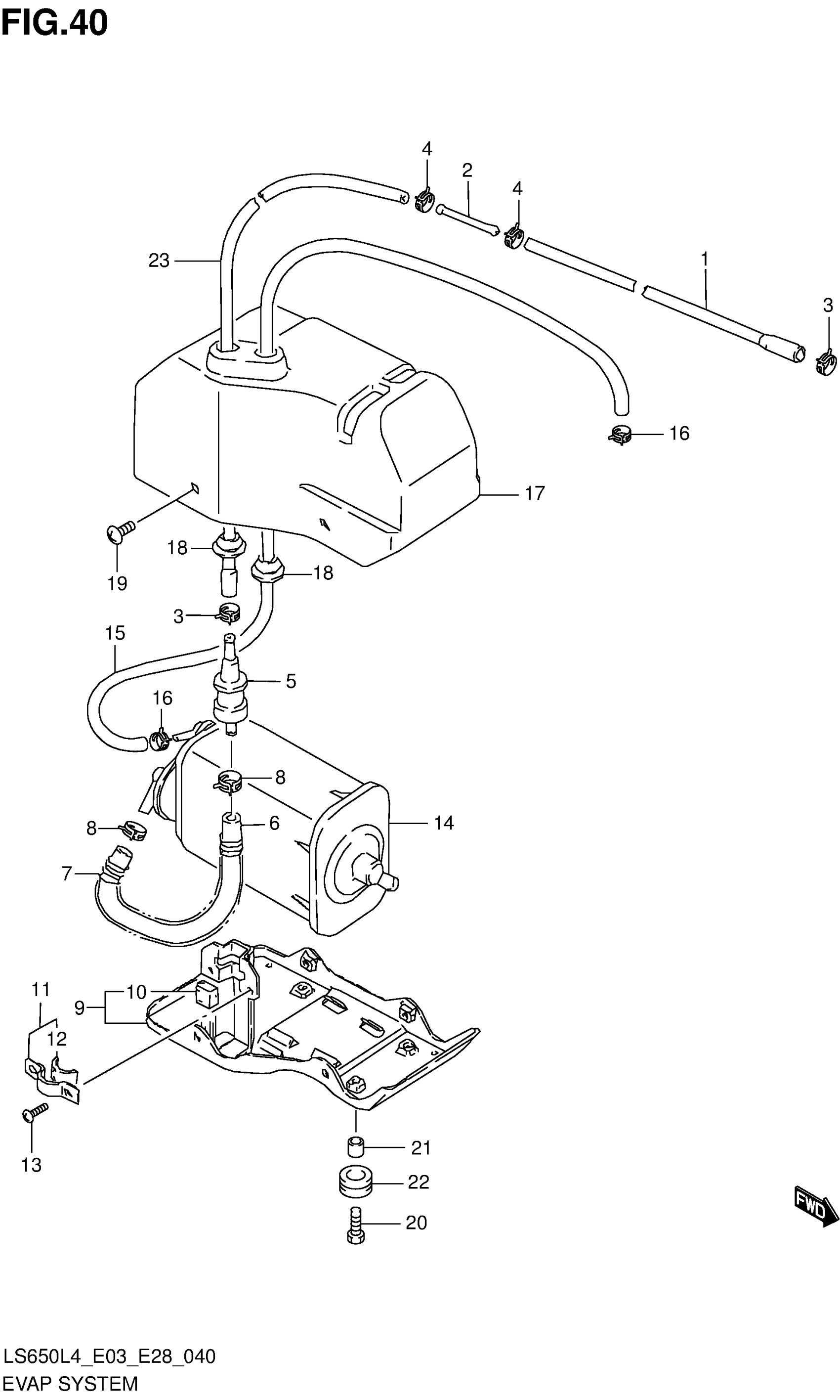
Suzuki LS650L4 (2014) EVAP SYSTEM (LS650L4 E33) Diagram
#
Description
Price
1
HOSE, EVAP SYSTEM NO.3 CHG
44998-24BA0
Unavailable
2
JOINT
09364-04002
Unavailable
6
HOSE, EVAP SYSTEM NO.1
44996-24BA0
Unavailable
9
PLATE, CANISTER FITTING
44880-24B00
Unavailable
13
SCREW
02142-0410B
Unavailable
14
CANISTER ASSY, CHARCOAL
17210-24B00
Unavailable
15
HOSE, EVAP SYSTEM NO.4 PURGE
44999-24BA0
Unavailable
17
COVER, CANISTER
44991-24B00
Unavailable
23
HOSE, EVAP SYSTEM NO.2 CHG
44997-24BA0
Unavailable
