- Partiron
- OEM Parts
- Suzuki
- Motorcycle
- 2019
- LS650BL9 (2019)
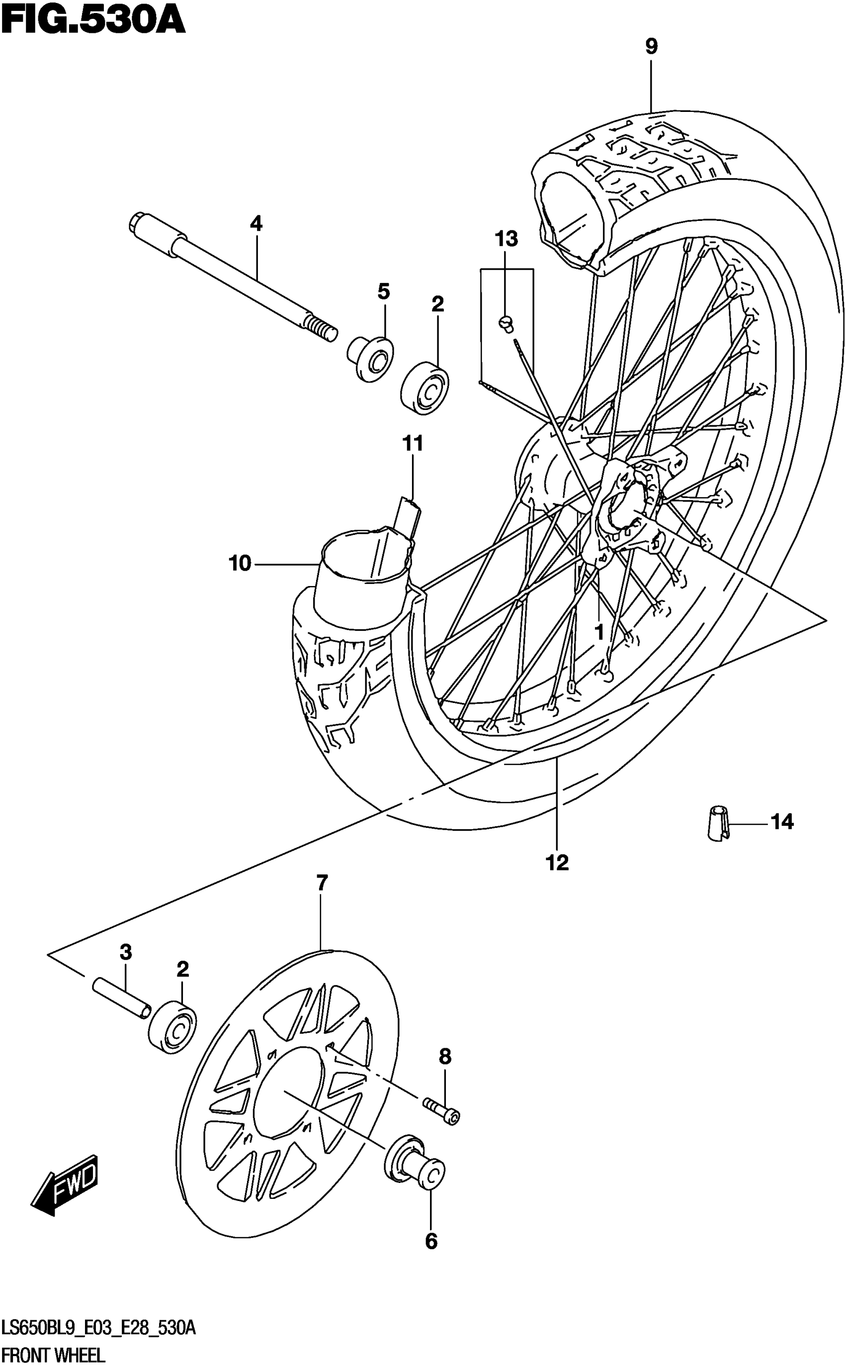
FRONT WHEEL
Suzuki LS650BL9 (2019) FRONT WHEEL Diagram
#
Description
Price
1
HUB
54111-24B01
Unavailable
FRONT WHEEL
#
1
54111-24B01
Unavailable
Edit ride
