- Partiron
- OEM Parts
- Suzuki
- Motorcycle
- 2019
- LS650BL9 (2019)
FRONT FORK DAMPER
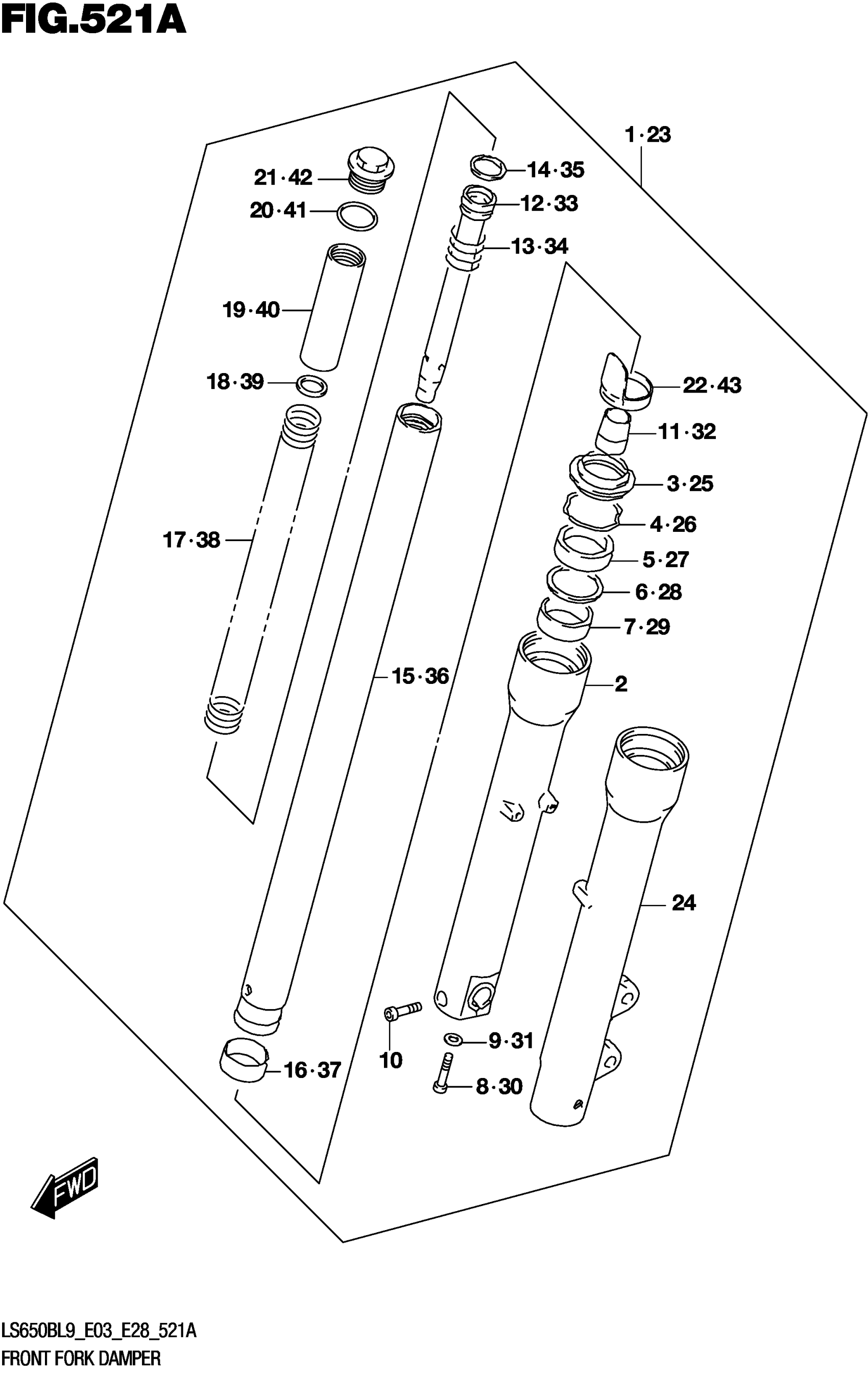
Suzuki LS650BL9 (2019) FRONT FORK DAMPER Diagram
#
Description
Price
1
DAMPER ASSY
51103-24B70
Unavailable
2
.TUBE
51130-24B70
Unavailable
11
.PIECE
51195-24B01
Unavailable
12
.CYLINDER
51146-24B01
Unavailable
13
.SPRING
51177-49440
Unavailable
14
.RING
51196-49440
Unavailable
17
.SPRING
51171-24B00
Unavailable
21
.CAP
51351-24B00
Unavailable
32
.PIECE
51195-24B01
Unavailable
33
.CYLINDER
51146-24B01
Unavailable
34
.SPRING
51177-49440
Unavailable
35
.RING
51196-49440
Unavailable
38
.SPRING
51171-24B00
Unavailable
42
.CAP
51351-24B00
Unavailable
