- Partiron
- OEM Parts
- Suzuki
- Motorcycle
- 2019
- LS650BL9 (2019)
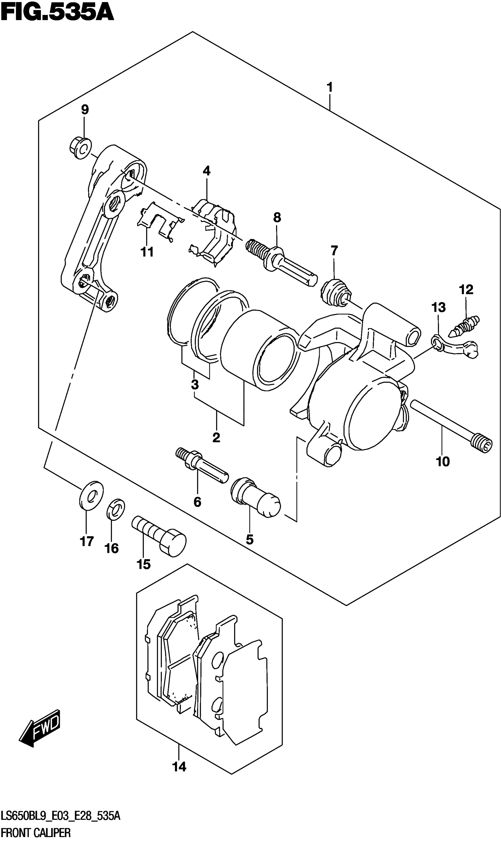
FRONT CALIPER
Suzuki LS650BL9 (2019) FRONT CALIPER Diagram
#
Description
Price
9
.NUT
59306-14500
Unavailable
FRONT CALIPER
#
9
59306-14500
Unavailable
Edit ride
