- Partiron
- OEM Parts
- Suzuki
- Motorcycle
- 2017
- LS650BL7 (2017)
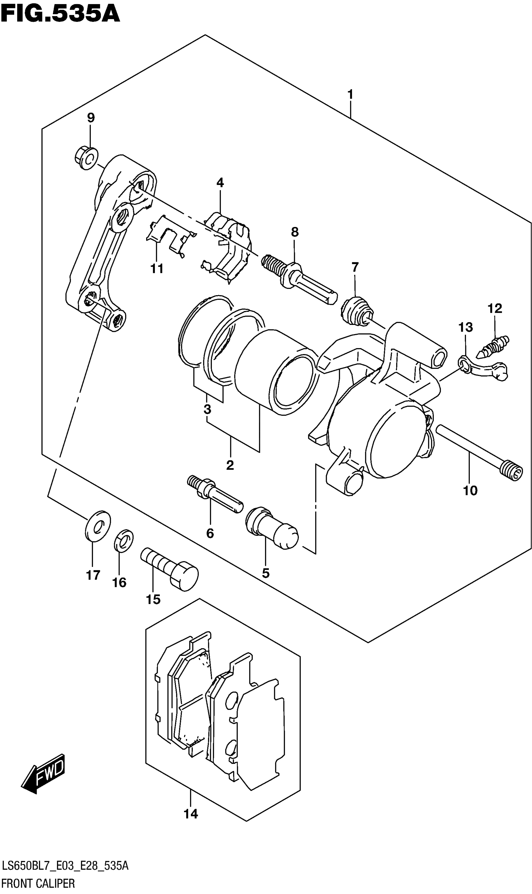
FRONT CALIPER
Suzuki LS650BL7 (2017) FRONT CALIPER Diagram
#
Description
Price
9
.NUT
59306-14500
Unavailable
FRONT CALIPER
#
9
59306-14500
Unavailable
Edit ride
