- Partiron
- OEM Parts
- Suzuki
- Motorcycle
- 2009
- LS650 (2009)
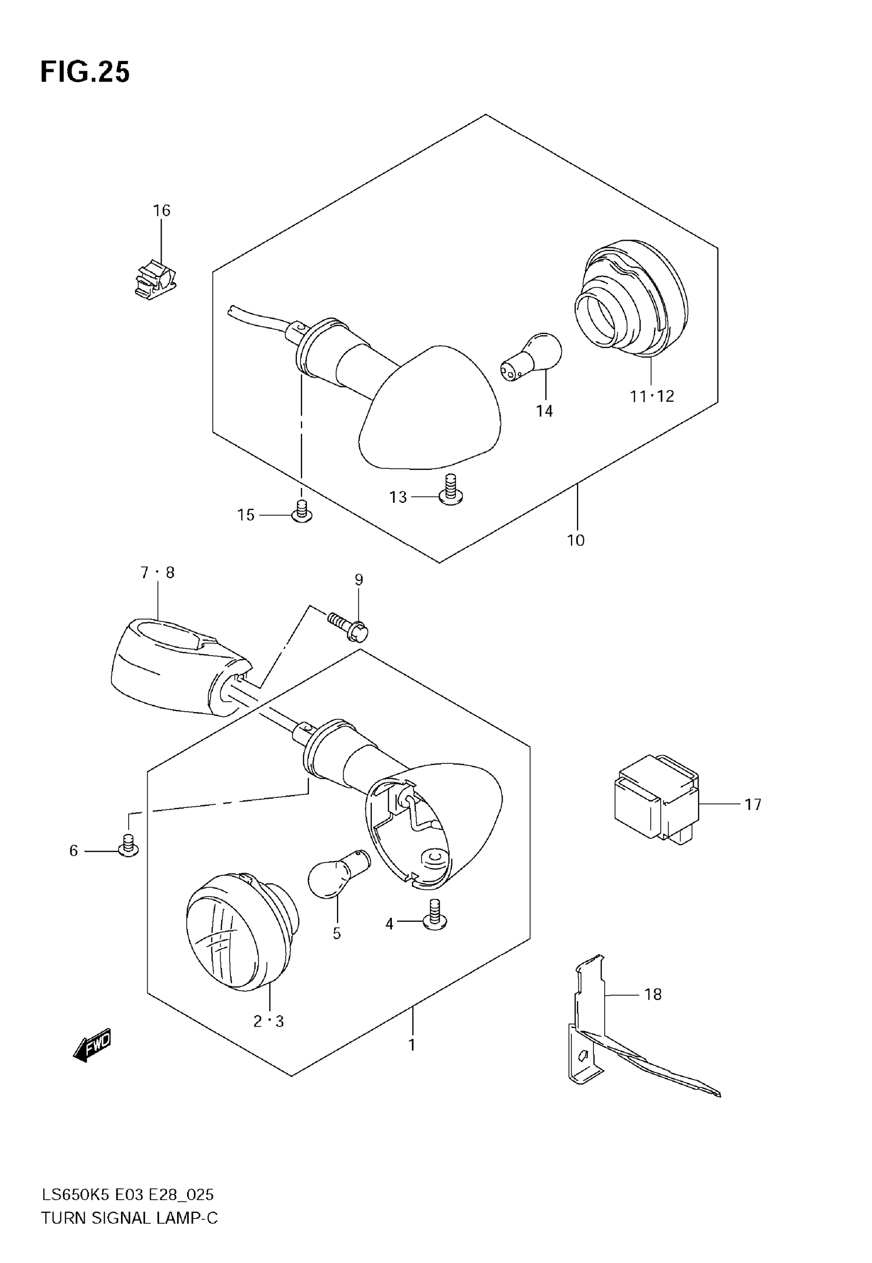
TURN SIGNAL LAMP
Suzuki LS650 (2009) TURN SIGNAL LAMP Diagram
#
Description
Price
6
SCREW
02142-06107
Unavailable
7
BRACKET, RH
35671-24B00
Unavailable
18
BRACKET, TURN SIGNAL RELAY
38621-24B10
Unavailable
