- Partiron
- OEM Parts
- Suzuki
- Motorcycle
- 2009
- LS650 (2009)
CANISTER (E33)
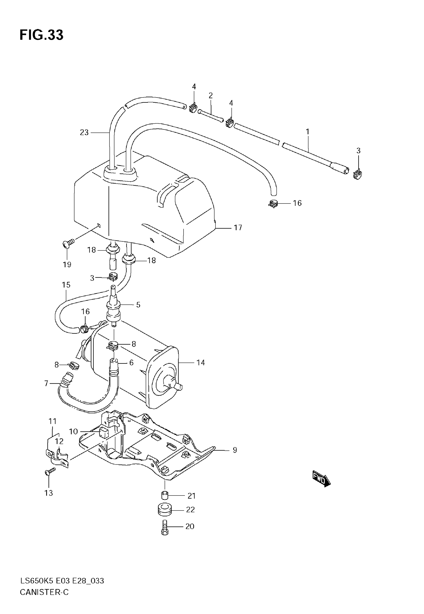
Suzuki LS650 (2009) CANISTER (E33) Diagram
#
Description
Price
1
HOSE, NO.3 | MODEL K5/K6/K7
44911-43500
Unavailable
1
HOSE, NO.3 | MODEL K8/K9
44998-24BA0
Unavailable
2
JOINT
09364-04002
Unavailable
6
HOSE, NO.1 | MODEL K5/K6/K7
09343-05403
Unavailable
6
HOSE, NO.1 | MODEL K8/K9
44996-24BA0
Unavailable
9
PLATE, FITTING | Includes Item(s) 10
44880-24B00
Unavailable
13
SCREW
02142-0410B
Unavailable
14
CANISTER ASSY
17210-24B00
Unavailable
15
HOSE, NO.4 | MODEL K5/K6/K7
44911-43500
Unavailable
15
HOSE, NO.4 | MODEL K8/K9
44999-24BA0
Unavailable
17
COVER, CANISTER
44991-24B00
Unavailable
23
HOSE, NO.2 | MODEL K5/K6/K7
44911-43500
Unavailable
23
HOSE, NO.2 | MODEL K8/K9
44997-24BA0
Unavailable
