- Partiron
- OEM Parts
- Yamaha
- motorcycle
- 1981
- LC50H (LC50) 1981
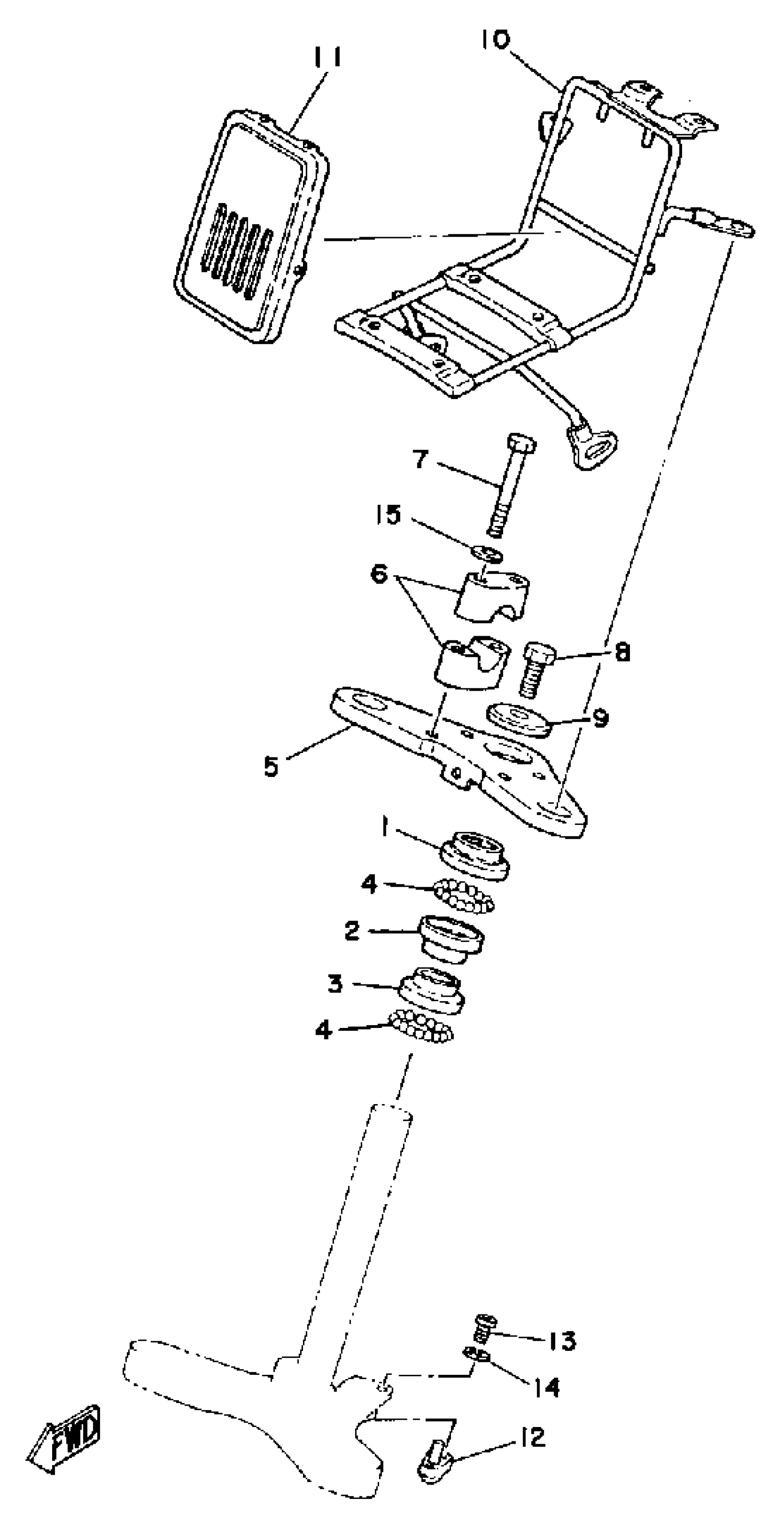
STEERING - FRONT CARRIER
Yamaha LC50H (LC50) 1981 STEERING - FRONT CARRIER Diagram
#
Description
Price
3
RACE, BALL 3
2SA-23413-00-00
Unavailable
5
CROWN, HANDLE
(3L6-23435-00-00)
Unavailable
6
HOLDER, HANDLE UPR
(3L6-23441-00-00)
Unavailable
10
CARRIER, FRONT
(3L9-24841-00-00)
Unavailable
11
PANEL, FRONT
(3L9-23391-00-00)
Unavailable
12
STEERING LOCK ASSEMBLY
4K6-23408-00-00
Unavailable
13
SCREW, PAN HEAD(62J)
97885-06012-00
Unavailable
14
WASHER, SPRING
92995-06100-00
Unavailable
