- Partiron
- OEM Parts
- Yamaha
- motorcycle
- 1981
- LC50H (LC50) 1981
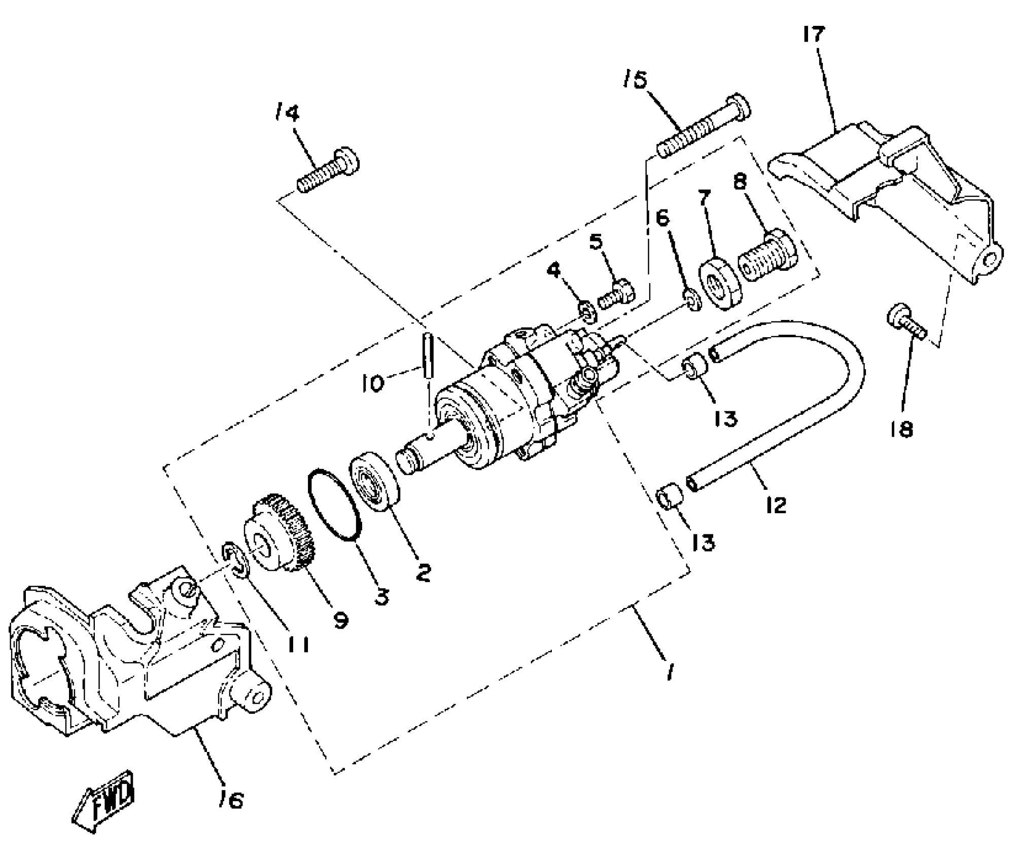
OIL PUMP
Yamaha LC50H (LC50) 1981 OIL PUMP Diagram
#
Description
Price
1
OIL PUMP ASSY
3L5-13101-01-00
Unavailable
7
NUT
90170-10105-00
Unavailable
8
BOLT, UNION (527 CKD)
90401-10029-00
Unavailable
9
GEAR, WORM WHEEL (56T)
3L5-13124-00-00
Unavailable
11
CIRCLIP
99080-07600-00
Unavailable
14
SCREW, PAN HEAD
98580-05020-00
Unavailable
15
SCREW, PAN
98507-05035-00
Unavailable
16
COVER, OIL PUMP
17J-15416-00-00
Unavailable
17
COVER, OIL PUMP
17J-15416-00-00
Unavailable
18
SCREW, PANHEAD TAPPING (682)
97780-50514-00
Unavailable
