- Partiron
- OEM Parts
- Yamaha
- motorcycle
- 1980
- LC50G (LC50) 1980
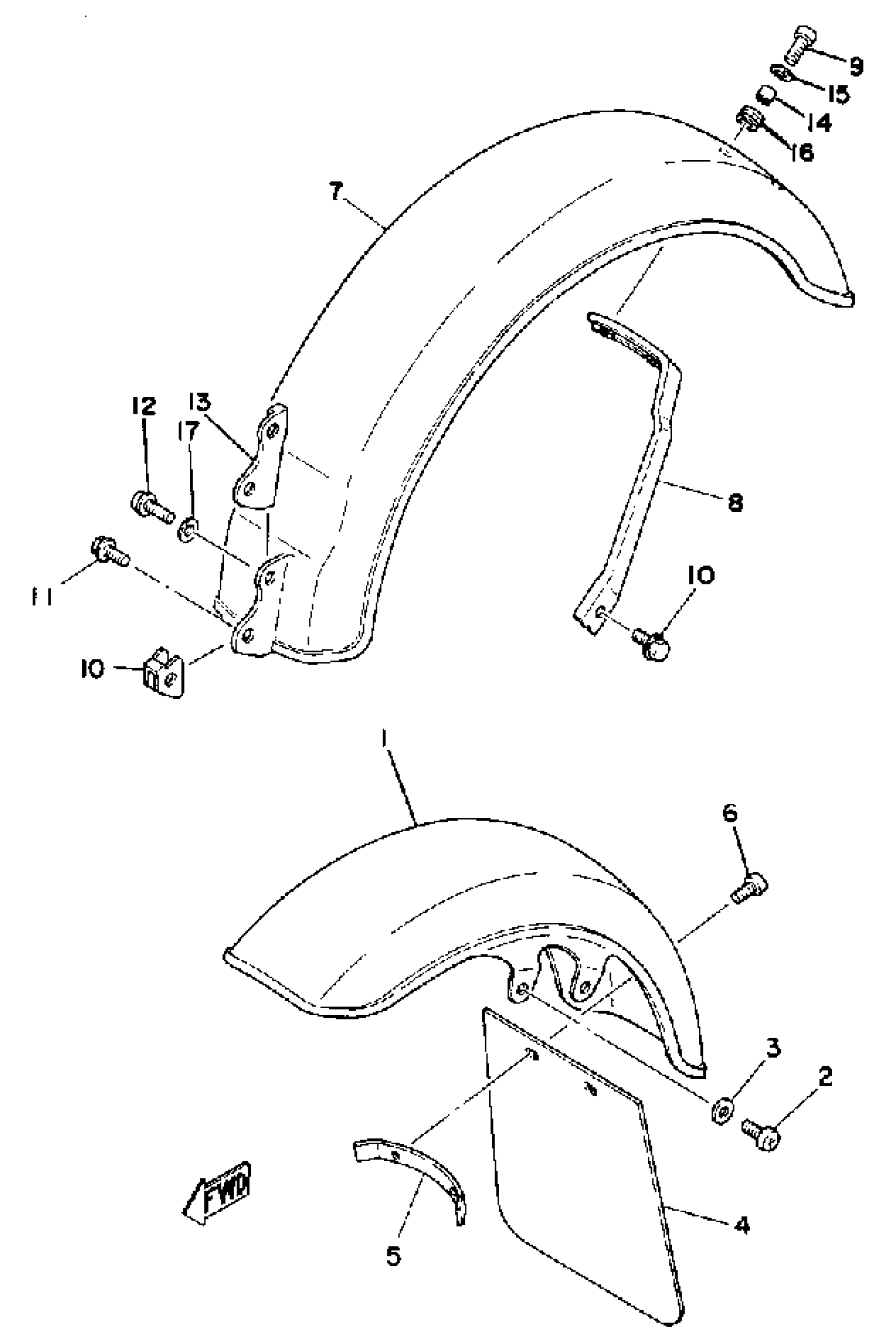
FRONT FENDER-REAR FENDER
Yamaha LC50G (LC50) 1980 FRONT FENDER-REAR FENDER Diagram
#
Description
Price
1
FENDER, FRONT
3L6-21511-00-2H
Unavailable
2
SCREW, PAN HEAD(62J)
97885-06012-00
Unavailable
3
. WASHER, PLATE
90201-06050-00
Unavailable
4
FLAP, FRONT FENDER
3L6-21521-01-00
Unavailable
5
BAND, FLAP
3L6-21522-00-00
Unavailable
6
SCREW, W/WASHER
90159-05088-00
Unavailable
7
FENDER, REAR
3L6-21611-01-2H
Unavailable
8
STAY, FENDER 2
3L6-21614-01-00
Unavailable
13
PATCH
(3L6-21657-00-00)
Unavailable
15
. WASHER, PLATE
90201-06050-00
Unavailable
16
GROMMET
90480-10258-00
Unavailable
17
. WASHER, PLATE
90201-06050-00
Unavailable
