- Partiron
- OEM Parts
- Yamaha
- motorcycle
- 1978
- LB50PE (LB50P) 1978
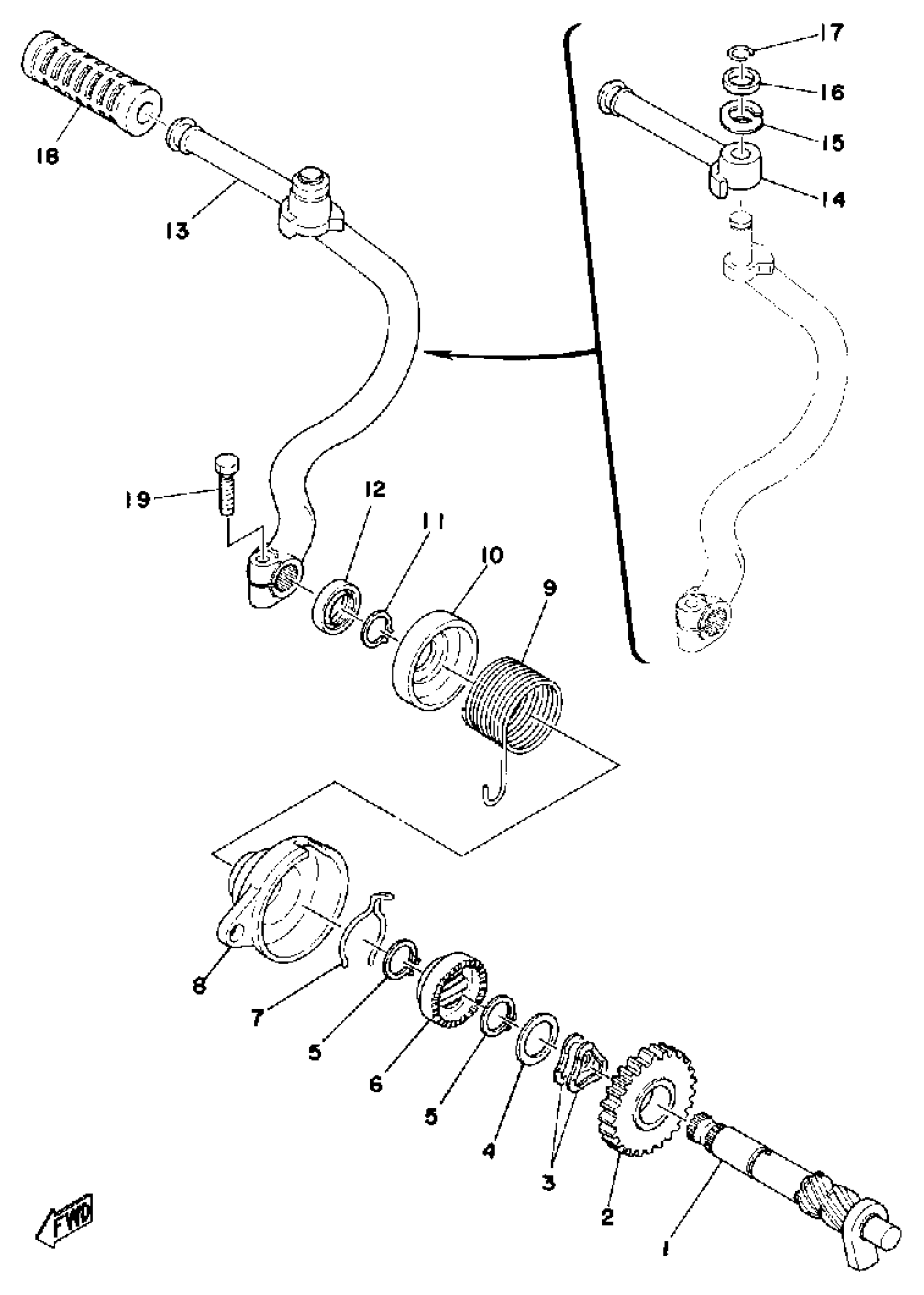
KICK STARTER
Yamaha LB50PE (LB50P) 1978 KICK STARTER Diagram
#
Description
Price
1
KICK AXLE ASSY
296-15660-00-00
Unavailable
2
GEAR, KICK
384-15641-00-00
Unavailable
6
WHEEL, RATCHET
296-15671-00-00
Unavailable
8
GUIDE, SPRING
1W7-15664-01-00
Unavailable
9
SPRING TORSION 304156650000
90508-26136-00
Unavailable
10
COVER, SPRING
1W7-15676-00-00
Unavailable
13
KICK CRANK ASSEMBLY
1F1-W1561-00-00
Unavailable
14
LEVER, KICK
(283-15612-01-00)
Unavailable
16
WASHER,SPEC'L SHAPE
90209-10210-00
Unavailable
17
. CIRCLIP, OUTER
93440-10028-00
Unavailable
18
COVER, KICK LEVER
156-15618-01-00
Unavailable
19
BOLT, HEXAGON
97017-06025-00
Unavailable
