Partiron

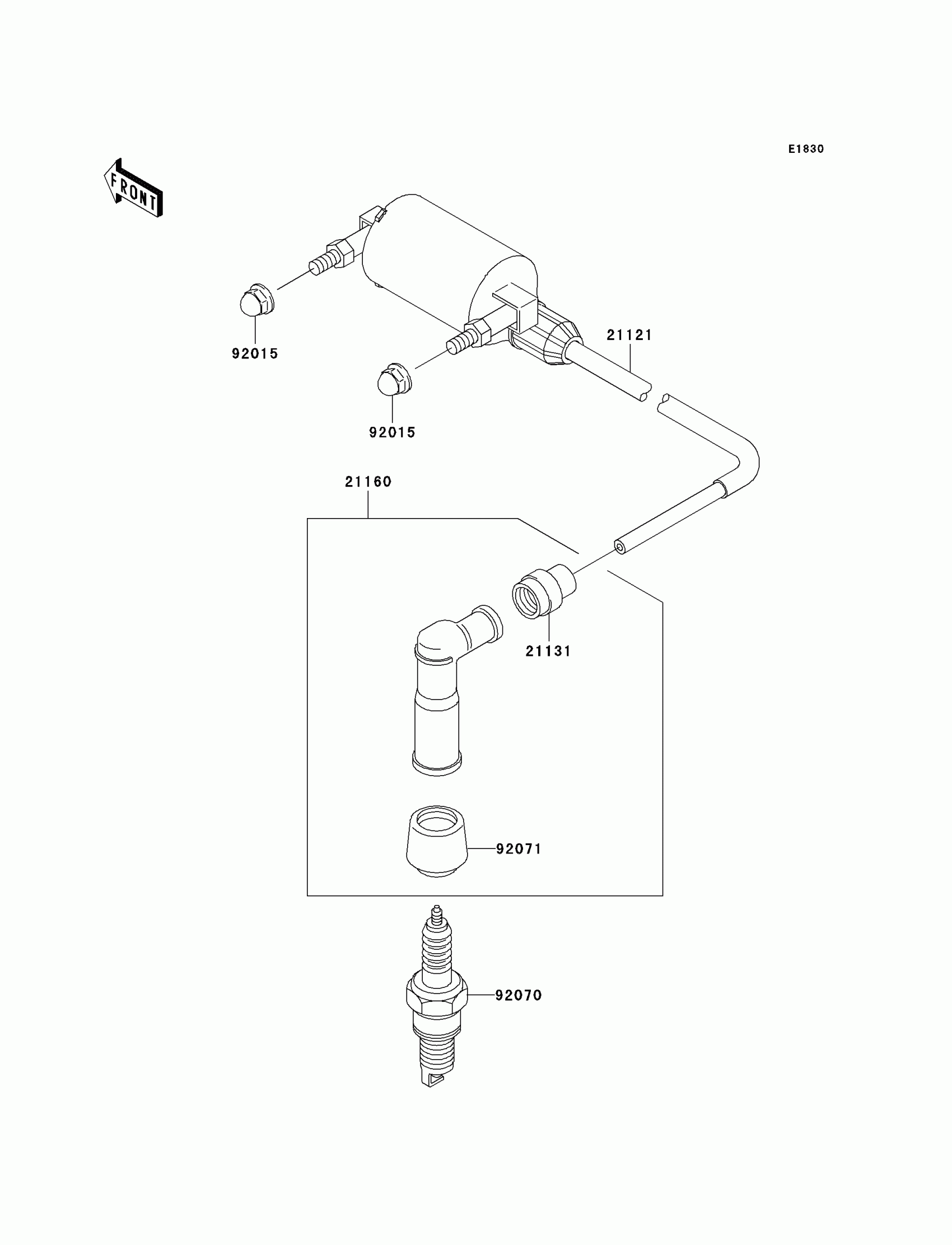
Kawasaki Lakota Sport Ignition System Diagram

#

Description
Price

21121

COIL-IGNITION

21121-1240

$141.93

21131

GROMMET,HIGH TENSION

21131-005

$6.16

21160

CAP-ASSY-PLUG

21160-1089

$35.79

92015

NUT,CAP,6M/M

92015-1153

$0.90

92070

PLUG-SPARK,DR8EA(NGK)

92070-1199

$3.62

92071

GROMMET,PLUG CAP

92071-1184

$6.16