- Partiron
- OEM Parts
- Kawasaki
- motorcycle
- 1984
- KZ750-K2 (Canada Only)
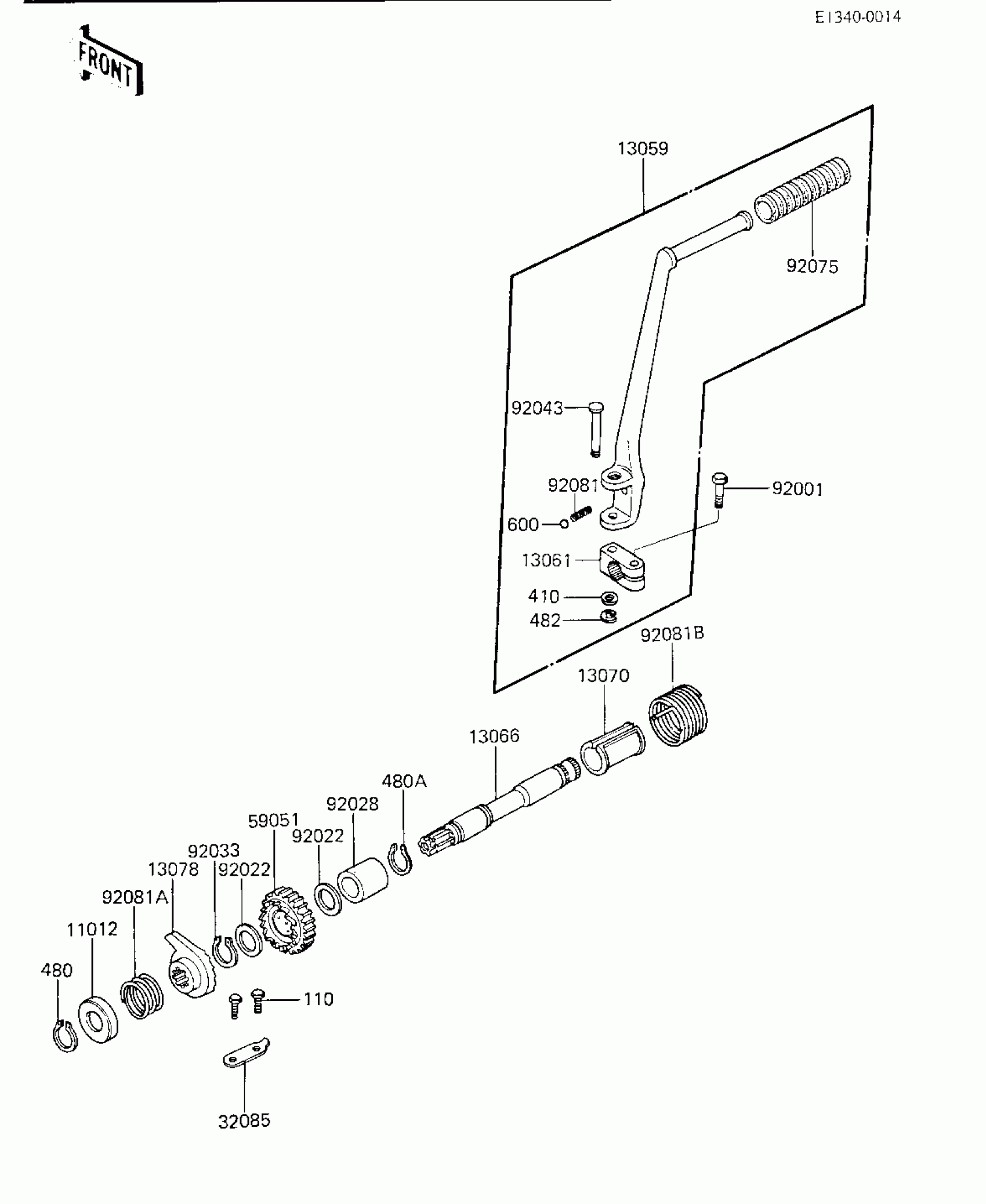
KICKSTARTER MECHANISM
Kawasaki KZ750-K2 (Canada Only) KICKSTARTER MECHANISM Diagram
#
Description
Price
11012
CAP,KICKSTARTER
92102-008
Unavailable
13059
PEDAL ASSY,KICK
13058-061
Unavailable
13061
BOSS-KICK PEDAL
13061-010
Unavailable
13066
SHAFT,KICKSTARTER
13066-1004
Unavailable
13070
GUID,KICK SPRING
13070-1008
Unavailable
13078
RATCHET,KICK SHAFT
13078-011
Unavailable
32085
STOPPER,KICKSTARTER
13072-012
Unavailable
92001
BOLT-KICK PEDAL
92001-110
Unavailable
92022
WASHER,PLAIN,22MM
92022-207
Unavailable
92043
PIN-KICK PEDAL
92043-081
Unavailable
92081B
SPRING,KICKSTARTER
92082-004
Unavailable
482
CIRCLIP 5MM
482K5000
Unavailable
