Partiron

Kawasaki KZ700-A1 TAILLIGHT Diagram

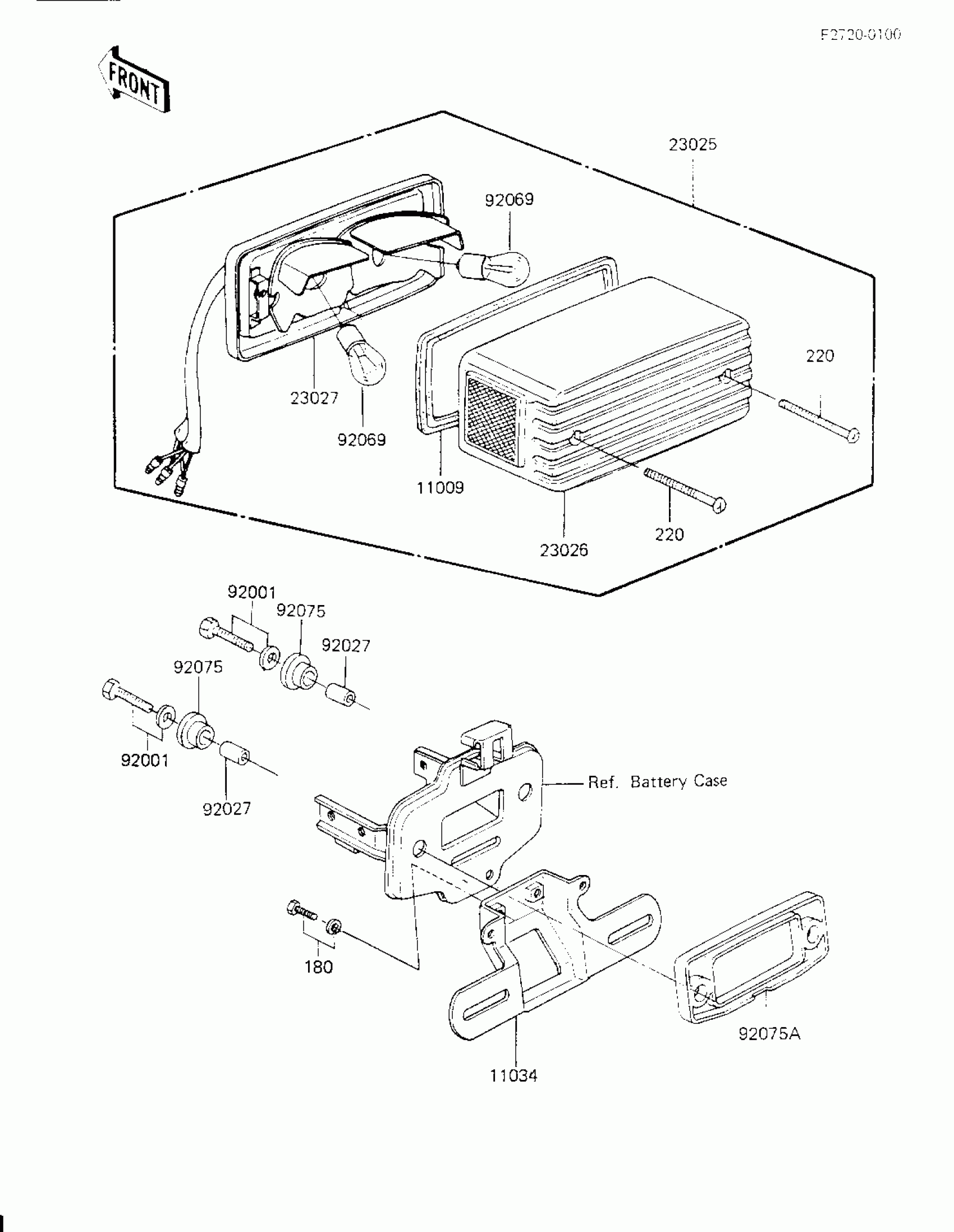
#

Description
Price

11009

GASKET,TAIL LAMP

11009-1221

$13.85

11034

BRACKET

11034-1922

Unavailable

23025

LAMP-TAIL,BLACK

23025-1038

Unavailable

23026

LENS,TAIL LAMP

23026-1021

$138.60

23027

BODY-COMP-TAIL LAMP,B

23027-1025

$149.97

92001

BOLT,HEX HEAD,8X42

92001-1175

Unavailable

92027

COLLAR,6.8X10X17.6

92027-1316

$10.44

92069

BULB,12V 27/8W

92069-059

$8.12

92075

DAMPER RUBBER

92075-1092

Unavailable

92075A

DAMPER

92075-1282

Unavailable

180

BOLT 6X12

180B0612

$4.01

220

SCREW-PAN-CROS

220C0465

$3.84