Kawasaki KZ650-F1 AIR CLEANER Diagram
#
Description
Price
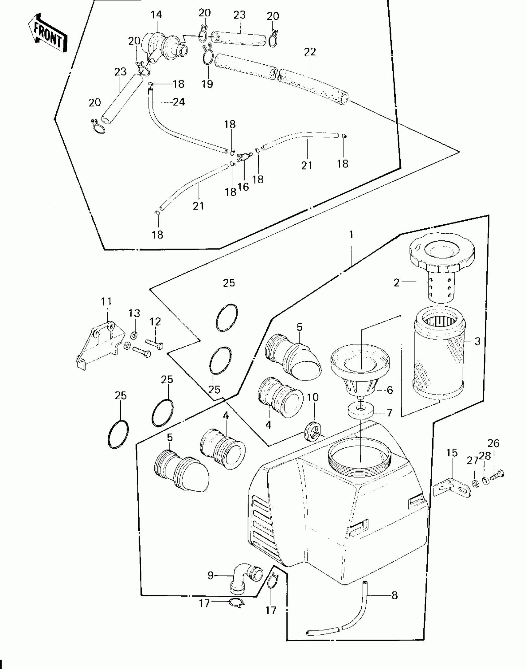
1
FILTER-ASSY-AIR
11010-1078
Unavailable
2
CAP,AIR CLEANER
11012-069
Unavailable
6
HOLDER,INLET PIPE
11033-006
Unavailable
7
GASKET,HOLDER
11039-003
Unavailable
8
UNAVAILABLE IN PRICE BOOK
700Q6200
Unavailable
11
BAFFLE PLT,AIR CLEANE
11019-003
Unavailable
16
FITTING,TUBE,T-TYPE
92005-1017
Unavailable
17
CLAMP BREATHER PIPE
92037-028
Unavailable
