Partiron

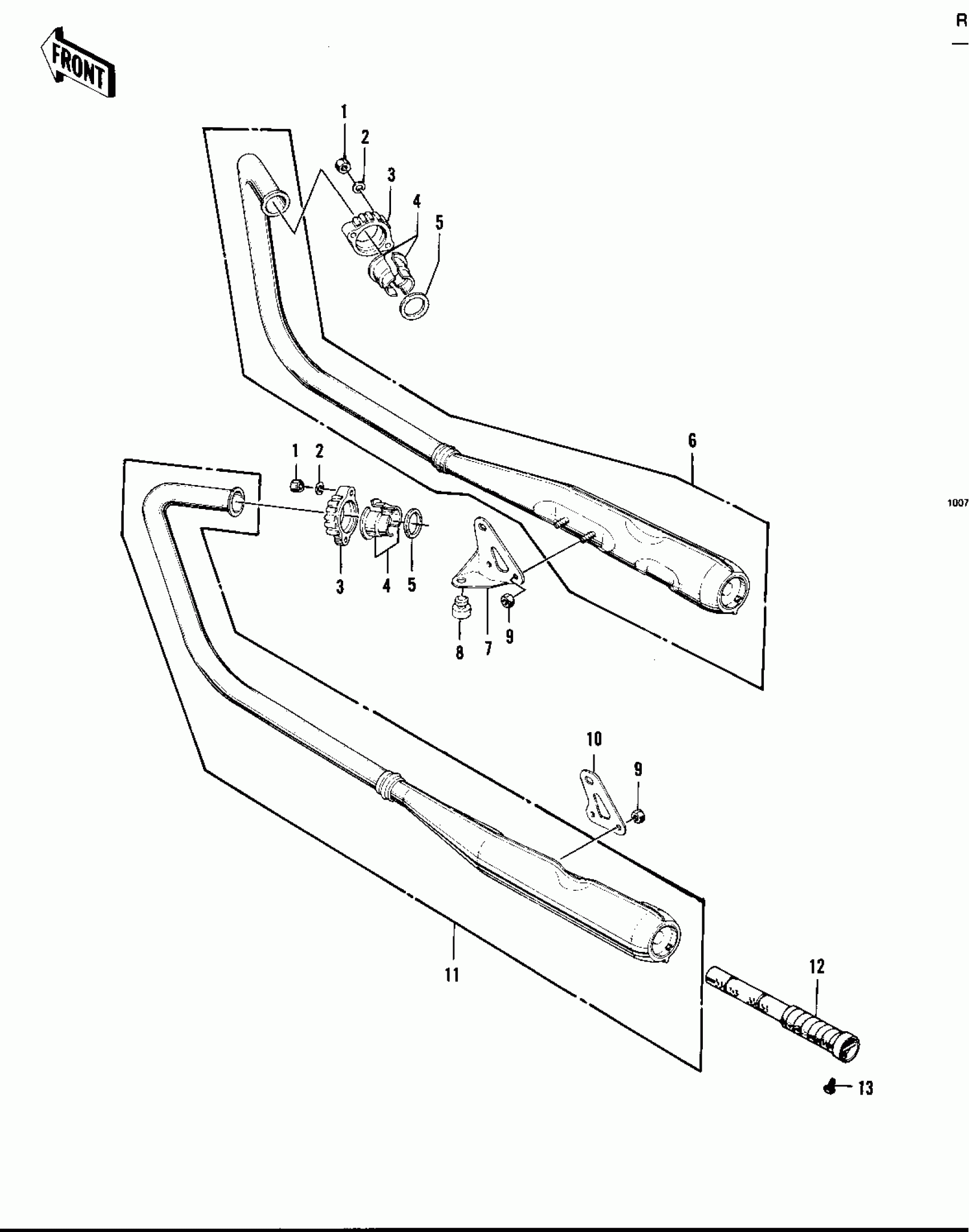
Kawasaki KZ400-D MUFFLERS ('74 -'75 KZ400/KZ400D) Diagram

#

Description
Price

1

NUT,6MM

311N0600

$0.96

2

WASHER SPRING 6MM

461F0600

$0.69

3

HOLDER,EX PIPE,BARREL

18069-056-2H

$62.95

4

COLLAR,EXHAUST PIPE

92027-224

Unavailable

5

GASKET,EXHAUST PIPE

11060-1242

Unavailable

6

MUFFLER ASSY R.H.

18001-166

Unavailable

7

BRACKET,METER,R.H

18024-024

Unavailable

8

DAMPER

92075-015

$5.00

9

NUT,LOCK,8MM

92015-1124

$5.42

10

BRACKET,MUFFLER,L.H

18024-025

Unavailable

11

MUFFLER ASSY,L.H

18001-165

Unavailable

12

BAFFLE TUBE

18033-085

$95.58

13

BOLT-UPSET,6X16

112G0616

$1.10