- Partiron
- OEM Parts
- Kawasaki
- motorcycle
- 1978
- KZ1000 LTD
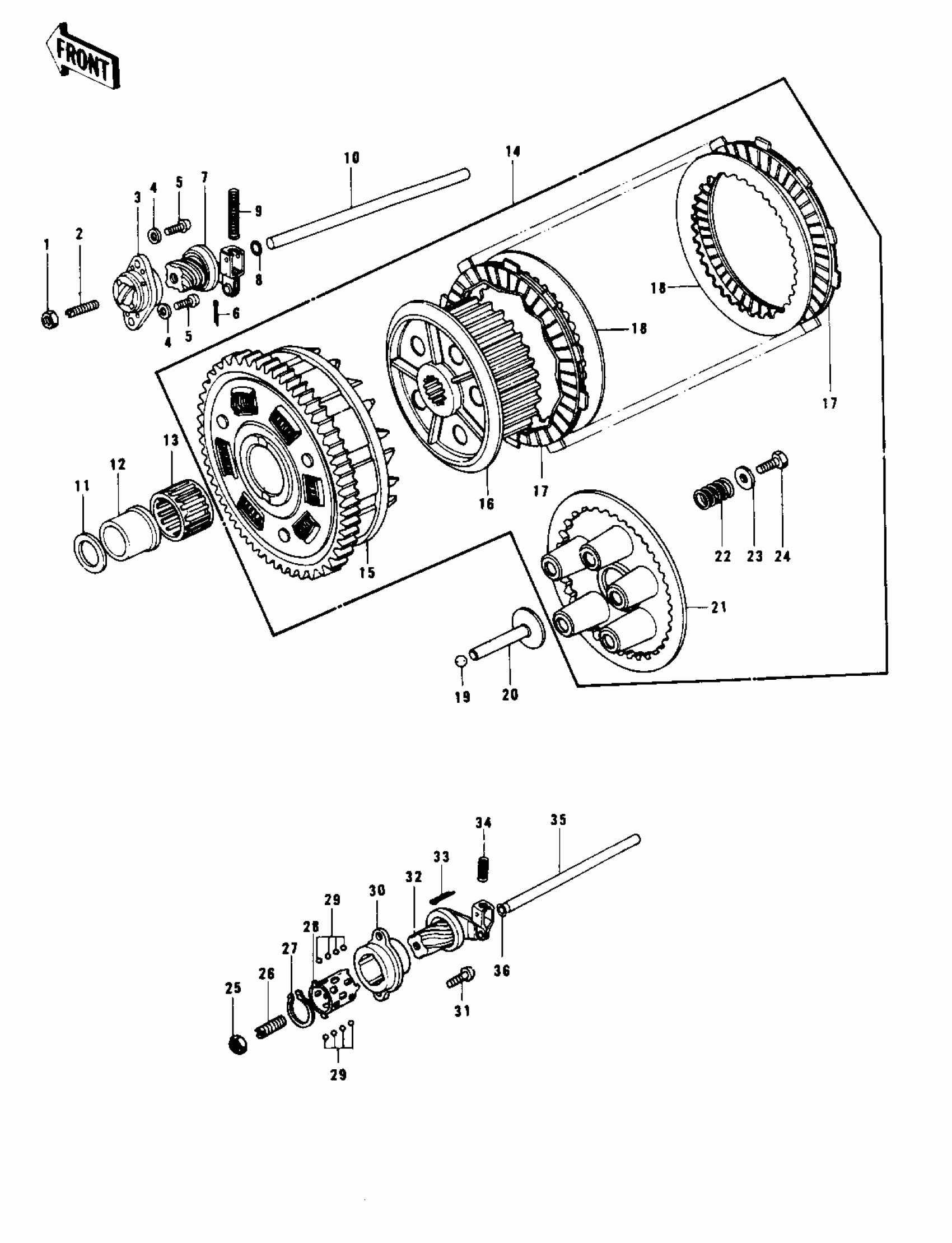
CLUTCH ('77-'78 B1/B2)
Kawasaki KZ1000 LTD CLUTCH ('77-'78 B1/B2) Diagram
#
Description
Price
2
SCREW,SLOTTED,8X25
92014-014
Unavailable
3
OUTER,CLUTCH RELEASE
13118-007
Unavailable
7
INNER,CLUTCH RELEASE
13102-013
Unavailable
10
PUSH ROD,CLUTCH
13116-021
Unavailable
12
BUSHING,CLUTCH
92028-135
Unavailable
14
CLUTCH-ASSY
13081-1014
Unavailable
15
CLUTCH-ASSY
13081-1367
Unavailable
16
CLUTCH-ASSY
13081-1367
Unavailable
18
PLATE,CLUTCH STEEL
13089-022
Unavailable
20
UNAVAILABLE IN PRICE BOOK
13116-006
Unavailable
21
PLATE,CLUTCH SPRING
13187-006
Unavailable
26
SCREW,SLOTTED,8X25
92014-014
Unavailable
28
RETAINER
13197-004
Unavailable
30
OUTER,CLUTCH RELEASE
13118-011
Unavailable
32
INNER,CLUTCH RELEASE
13102-019
Unavailable
35
PUSH ROD,CLUTCH
13116-021
Unavailable
