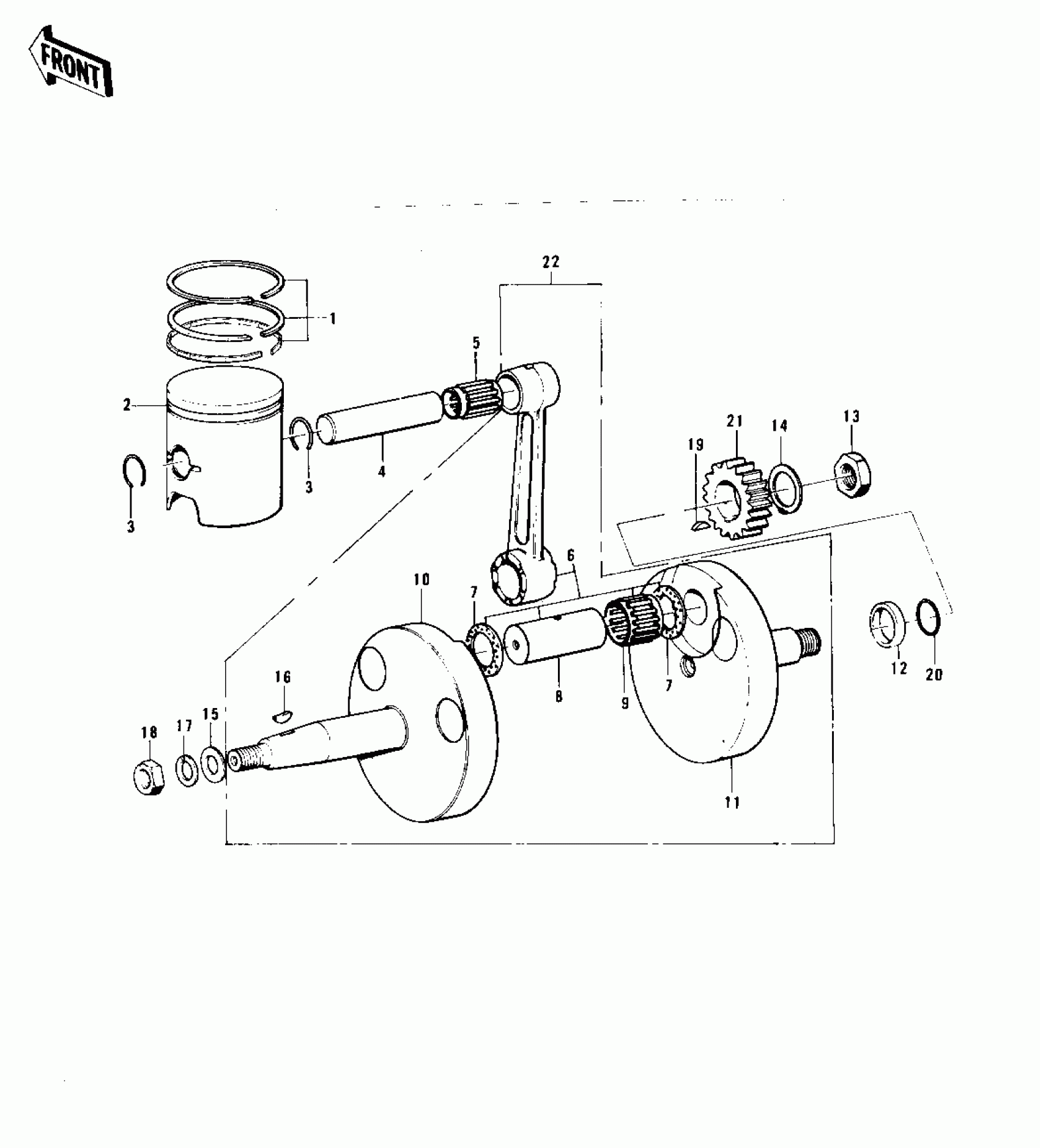
Kawasaki KX450 CRANKSHAFT/PISTON ('74 KX 450) Diagram
#
Description
Price
1
RING SET,STD
13008-045
Unavailable
2
PISTON,STD
13001-060
Unavailable
3
CIRCRIP,PISTON PIN
92036-024
Unavailable
4
PIN-PISTON
13002-024
Unavailable
6
CONNECTING ROD SET
13044-027
Unavailable
8
PIN,CRANK
13035-032
Unavailable
9
BEARING,BIG END
13034-035
Unavailable
10
CRANKSHAFT,L.H
13037-054
Unavailable
11
CRANKSHAFT,R.H
13038-050
Unavailable
12
COLLAR,CRANKSHAFT
92027-190
Unavailable
14
WASHER LOCK 18MM
92024-015
Unavailable
15
WASHER-PLAIN,14MM
92022-172
Unavailable
17
WASHER SPRING 14MM
461F1400
Unavailable
18
NUT 14MM
92015-043
Unavailable
21
GEAR,PRIMART
13121-024
Unavailable
22
CRANKSHAFT ASSY
13036-042
Unavailable
