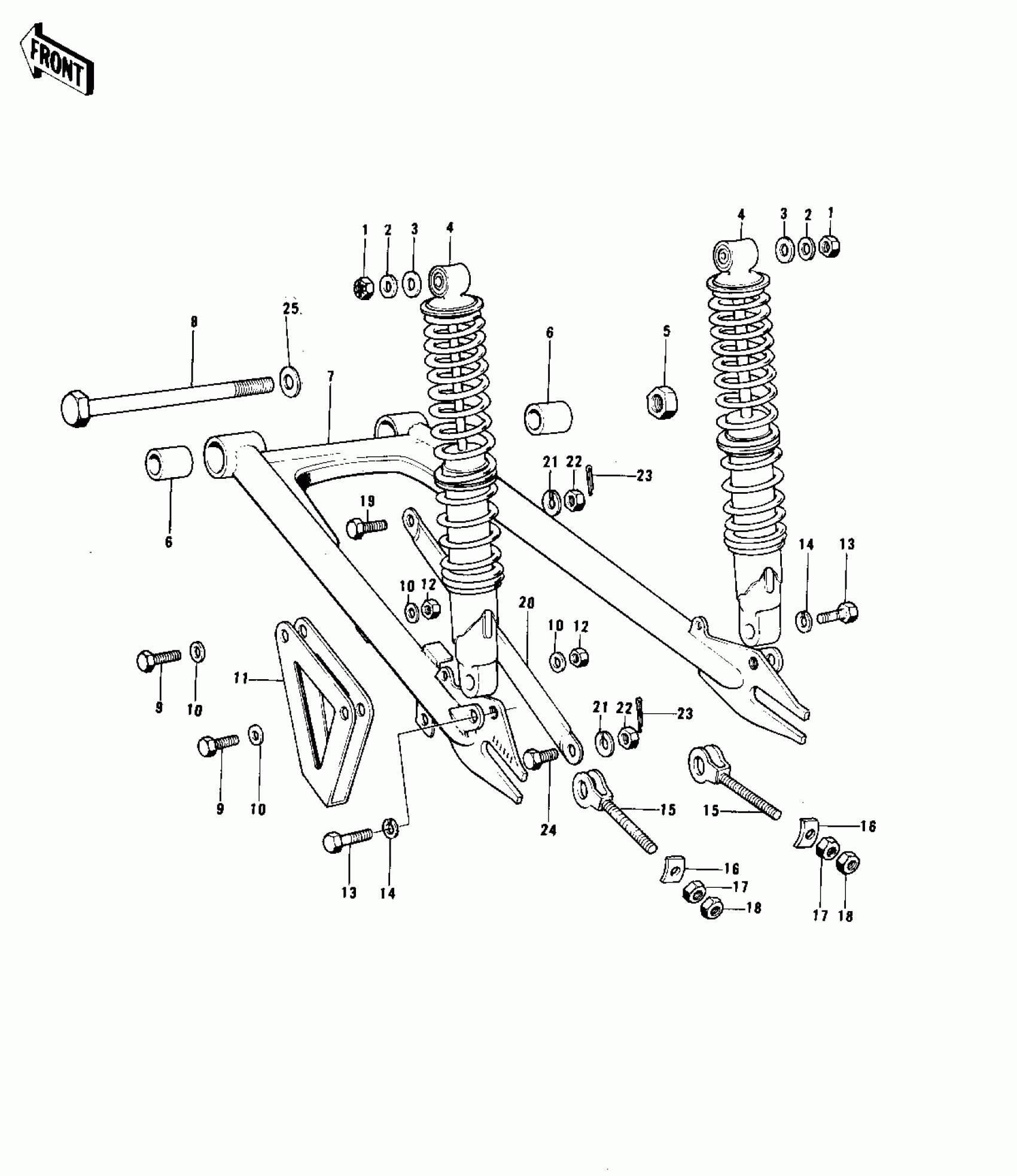
Kawasaki KX125-A3 SWING ARM/SHOCK ABSORBERS ('74-'76 KX125 Diagram
#
Description
Price
1
NUT,10MM
92019-016
Unavailable
2
WASHER,10.5X26X2.3
92022-044
Unavailable
3
WASHER-PLAIN-SMALL,12MM
410B1200
Unavailable
4
SHOCK ABSBR RR
45014-099
Unavailable
5
NUT,12MM
92019-017
Unavailable
6
BUSHING,SWING ARM
33033-012
Unavailable
7
SWING ARM
33001-072
Unavailable
8
SHAFT-SWING ARM
33032-034
Unavailable
9
BOLT-UPSET
112G0645
Unavailable
10
WASHER,6.5X20X1.6
92022-125
Unavailable
11
GUARD,CHAIN
55020-015
Unavailable
12
NUT,6MM
92019-019
Unavailable
13
BOLT HEX HEAD 10X35
113N1035
Unavailable
14
WASHER SPRING 10MM
461F1000
Unavailable
15
ADJUSTER,CHAIN
33040-057
Unavailable
16
PLATE,CHAIN ADJUSTER
33041-002
Unavailable
17
NUT,8MM
311B0800
Unavailable
18
NUT,8MM
92019-018
Unavailable
19
BOLT,HEX HEAD,AX24
92003-143
Unavailable
20
TORQUE LINK,REAR BRK
43007-039
Unavailable
21
WASHER SPRING 8MM
461F0800
Unavailable
22
NUT,8MM
320B0800
Unavailable
23
PIN-COTTER,2.0X20
550D2020
Unavailable
24
BOLT,RR TORQUE LINK
92003-144
Unavailable
25
WASHER-PLAIN-SMALL,12MM
410B1200
Unavailable
