Partiron

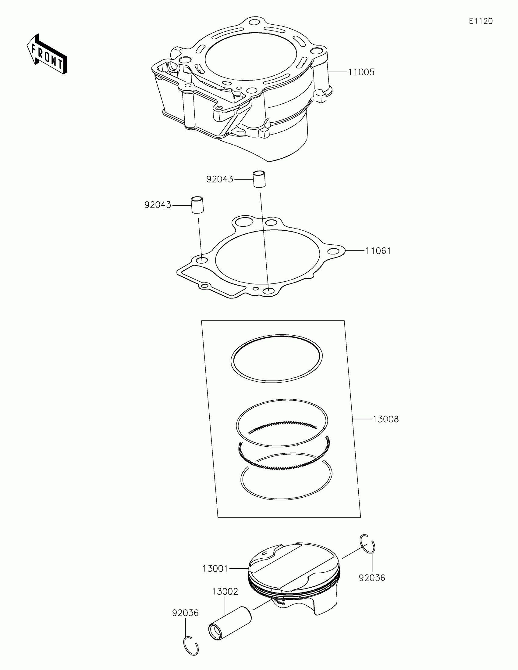
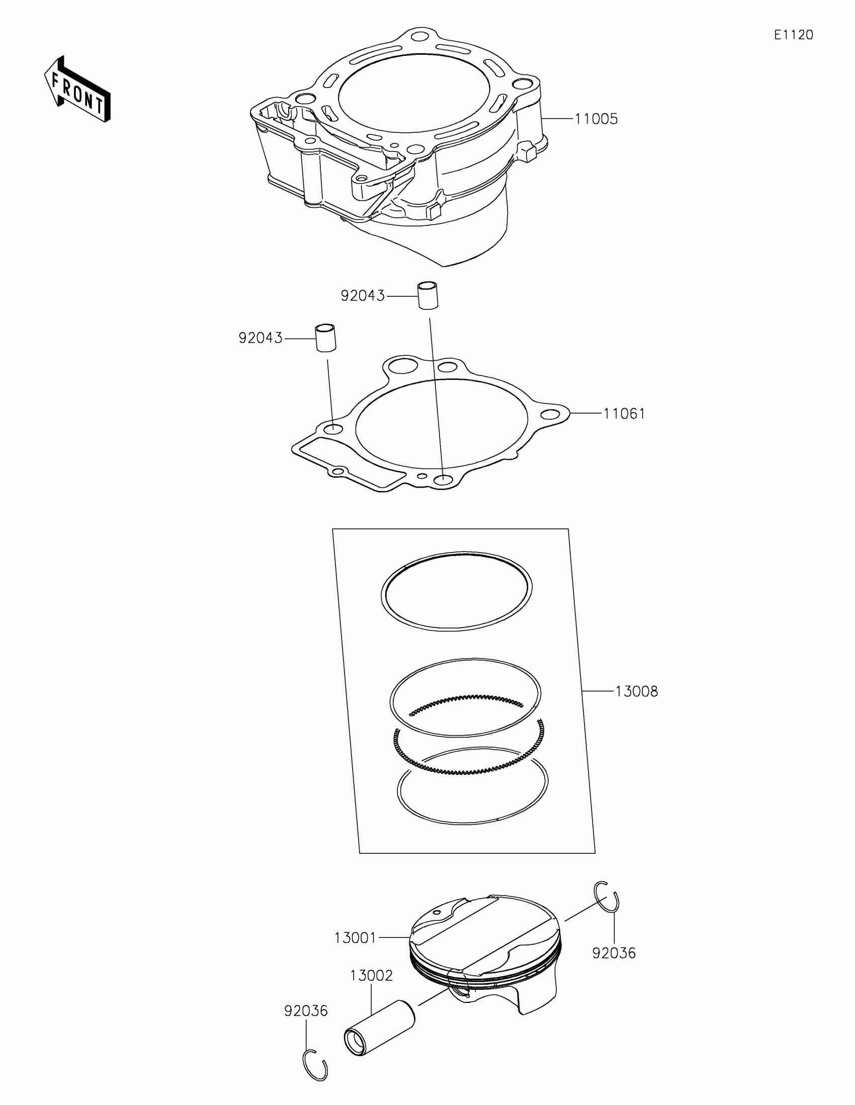
Kawasaki KX™450 Cylinder/Piston(s) Diagram

#

Description
Price

11005

CYLINDER-ENGINE

11005-0704

$465.63

11061

GASKET,CYLINDER BASE

11061-1270

$23.79

13001

PISTON-ENGINE

13001-0801

$218.94

13002

PIN-PISTON

13002-0715

$32.10

13008

RING-SET-PISTON

13008-0555

$50.93

92036

RING-SNAP,PISTON PIN

92036-008

$0.49

92043

PIN,10.1X12X14

92043-4009

$6.22